EasyManua.ls Logo

Lifetime 60455 - Page 104

Lifetime 60455
120 pages
Print Icon
To Next Page IconTo Next Page
To Next Page IconTo Next Page
To Previous Page IconTo Previous Page
To Previous Page IconTo Previous Page
Loading...
100
TOOLS AND PARTS REQUIRED / OUTILS ET PIÈCES REQUIS / INSTRUMENTAL Y HERRAJE REQUERIDOS
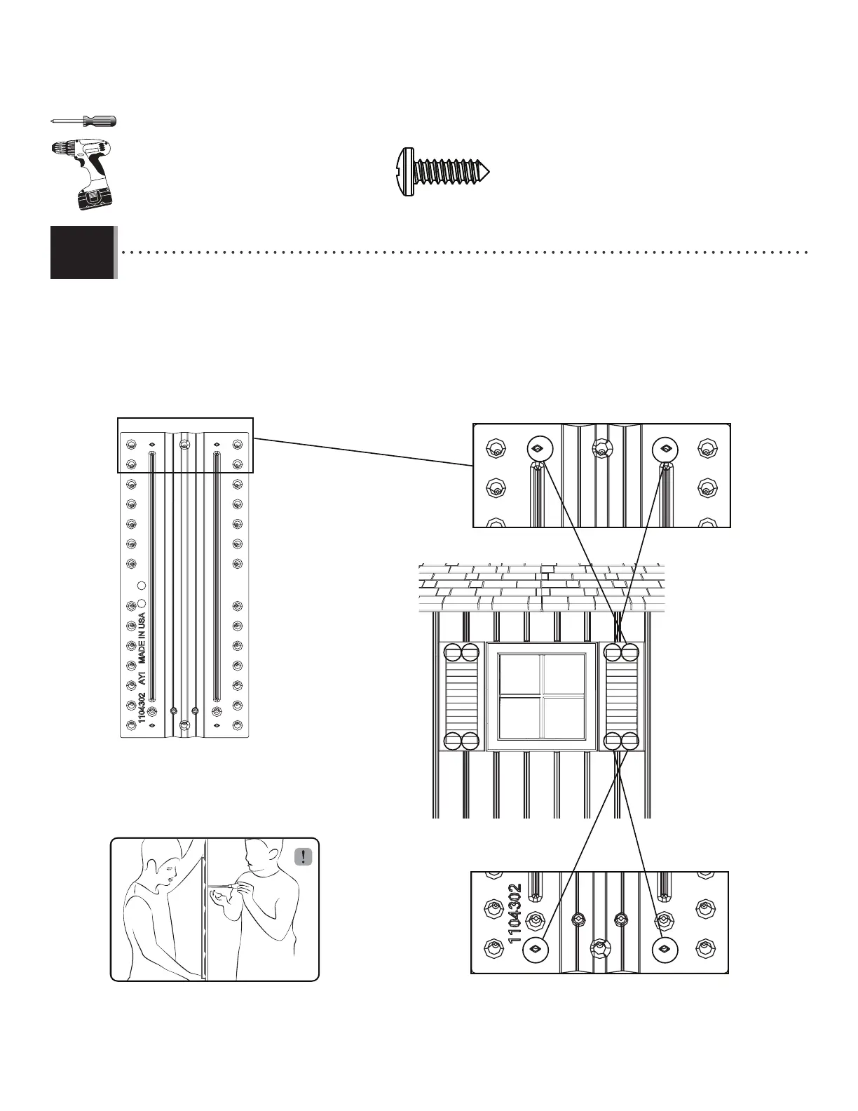
X SECTION 11 (CONTINUED) / SECTION 11 (SUITE) / SECCIÓN 11 (CONTINUACIÓN)
ARV (x7)
Align the screw bosses in the shutters (AYI) with the screws (ARV) as you insert the screws. Secure both shutters to the
panels. Repeat this section for the second window.
Aligner les bossages de montage dans les volets (AYI) avec les vis (ARV) en insérant les vis. Fixer les deux volets aux
panneaux. Répéter cette section pour la deuxième fenêtre.
Alinear los huecos de montaje en las contraventanas (AYI) con los tornillos (ARV) al insertar los tornillos. Fijar ambas
contraventanas a los paneles. Repitir esta sección para la segunda ventana.
AYI
11.2

Related product manuals