EasyManua.ls Logo

Lifetime QUICK ADJUST 1044 - Page 12

Lifetime QUICK ADJUST 1044
36 pages
Print Icon
To Next Page IconTo Next Page
To Next Page IconTo Next Page
To Previous Page IconTo Previous Page
To Previous Page IconTo Previous Page
Loading...
12
X SECTION 1 (CONTINUED) / SECTION 1 (SUITE) / SECCIÓN 1 (CONTINUACIÓN)
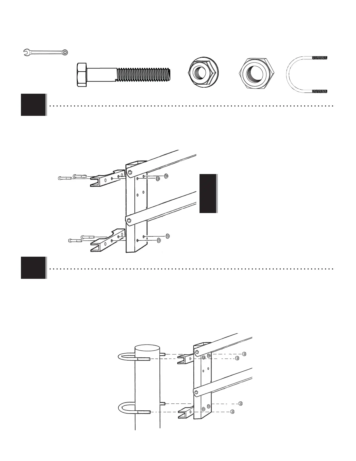
TOOLS AND HARDWARE REQUIRED / OUTILS ET ACCESSOIRES REQUIS / HERRAMIENTAS Y ACCESORIOS DE FIJACIÓN REQUERIDOS
ETB
ETB
AAA
AAA
AAA
AAA
FKE
CZZ
CZZ
FKE
APN
APN
APN
APN
BSF
BSF
BSF
BSF
1.5
• Attach the Saddle Brackets (CZZ) to the Mounting Tube (FKE) with the Hex Bolts (BSF) and Flange Lock Nuts (APN).
• Fixez les colliers de selle (CZZ) au tube de montage (FKE) à l’aide des boulons hexagonaux (BSF) et des écrous à embase
(APN).
• Asegure los soportes de montura (CZZ) al tubo de montaje (FKE) con los pernos hexagonales (BSF) y las tuercas de seguri-
dad con brida (APN).
AT THIS POINT, TWO PEOPLE ARE NECESSARY TO
COMPLETE ASSEMBLY.
À CE POINT, DEUX PERSONNES SONT NÉCESSAIRES POUR
COMPLÉTER L’ASSEMBLAGE.
EN ESTE MOMENTO SE NECESITAN DOS PERSONAS PARA
COMPLETAR EL ENSAMBLAJE.
To attach the assembled system to a pole, lift the system to the correct mounting height and fasten the Saddle
Brackets to the 2 U-Bolts (ETB) with the Nylock Nuts (AAA) as shown.
Pour fixer le système assemblé à un poteau, soulevez le système à la hauteur de montage appropriée et fixez les
colliers de selle aux 2 boulons en U (ETB) avec les écrous Nylock (AAA), comme indiqué.
Para asegurar el sistema de ensamblaje a un poste, levante el sistema hasta la altura correcta de montaje y sujete
los soportes de montura a los 2pernos en U (ETB) con las tuercas nylock (AAA), como se muestra.
ETB (x2)
BSF (x4)
APN (x4)
AAA (x4)
1/2” (13 mm)
!
1.6

Related product manuals