EasyManua.ls Logo

Logik L32HED12 - DTV Manual Tuning (DTV Mode); ATV Manual Tuning (ATV Mode)

Logik L32HED12
72 pages
Print Icon
To Next Page IconTo Next Page
To Next Page IconTo Next Page
To Previous Page IconTo Previous Page
To Previous Page IconTo Previous Page
Loading...
21
GB
Customising TV Settings
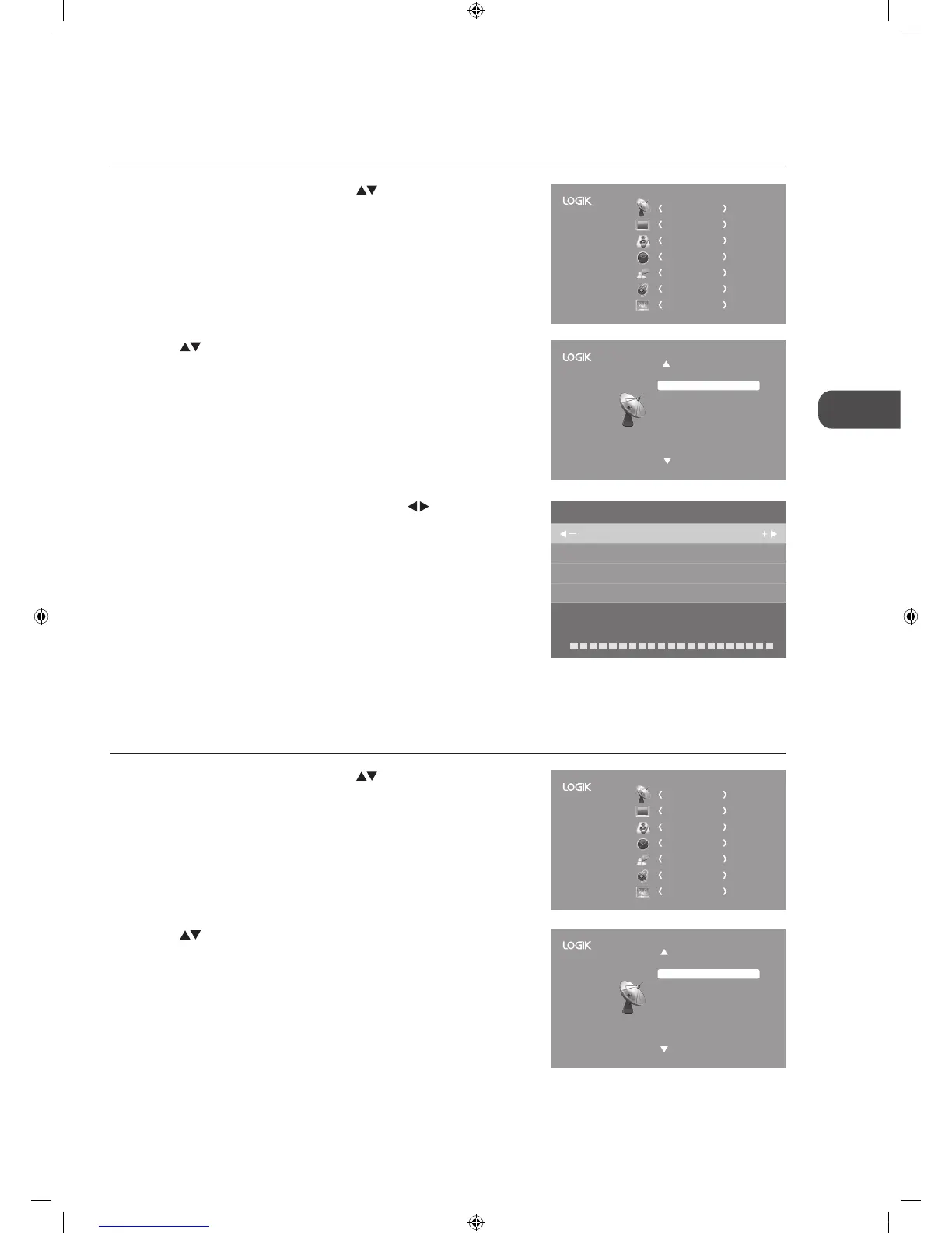
3. The DTV Manual Tuning screen will pop up. Press the buttons
to select the desired UHF channel and then press the OK button to
commence the search of that channel. When the signal has been tuned,
the picture and signal strength will be displayed on the screen.
4. Press the MENU button to return to the main menu.
5. Press the EXIT button to exit the menu.
2. Press the
buttons to select DTV Manual Tuning and then press the
OK button.
DTV Manual Tuning (DTV Mode)
Allows you to make manual fine tuning adjustments to the channel under DTV mode.
1. Press the MENU button and then press the
buttons to select the
CHANNEL menu and then press the OK button.
CHANNEL
PICTURE
SOUND
TIME
OPTION
LOCK
EXIT
Auto Tuning
DTV Manual Tuning
Signal Information
CI Information
Software Update(OAD) Off
Software Update(USB)
Channel Edit
DTV : 0 Programme
UHF CH 21
DTV Manual Tuning
Press OK to search
Bad
Freq: 474.00 MHz Good
2. Press the buttons to select ATV Manual Tuning and then press the
OK button.
CHANNEL
PICTURE
SOUND
TIME
OPTION
LOCK
EXIT
Auto Tuning
ATV Manual Tuning
Software Update(OAD) Off
Software Update(USB)
Channel Edit
ATV Manual Tuning (ATV Mode)
Allows you to make manual fine tuning adjustments if the channel reception is poor under ATV mode.
1. Press the MENU button and then press the
buttons to select the
CHANNEL menu and then press the OK button.
L32HED12_IB_Running Change_120613_Annie.indd 21 12年6月13日 下午6:59

Table of Contents

Related product manuals