EasyManua.ls Logo

LONCIN 1P65FE - Fuel Recommendations and Tank Capacity

LONCIN 1P65FE
Print Icon
To Next Page IconTo Next Page
To Next Page IconTo Next Page
To Previous Page IconTo Previous Page
To Previous Page IconTo Previous Page
Loading...
CONTROLS
8
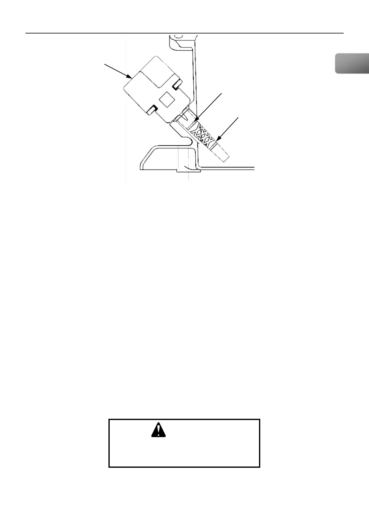
OIL FILLER CAP/DIPSTICK
1P61FE 1P65FE
Engine oil capacities: 1P61FA1P65FA : 0.55L (0.146 US Gal, 0.119 Imp Gal)
1P61FE1P65FE 1P75F: 0.5L (0.133 US Gal, 0.108 Imp Gal)
1P68FA1P70F1P70FA : 0.60L (0.16 US Gal, 0.13 Imp Gal)
CAUTION:
Do not overfill. Overfilling with oil may cause:
Smoking, Hard starting, Spark plug fouling, or Oil saturation of air filter.
Used oil should be sent to special recycle bin for disposing.
3.4 FUEL
FUEL RECOMMENDATIONS
Use clean, fresh, regular unleaded gasoline with a minimum of 85 octane.
These engines are certified to operate on unleaded gasoline. Unleaded gasoline produces
fewer engine and spark plug deposits and extends exhaust system life.
Never use stale or contaminated gasoline or an oil/gasoline mixture. Avoid getting dirt or
water in the fuel tank.
Occasionally you may hear a light ‘‘spark knock’ or ‘‘pinging’ (metallic rapping noise) while
operating under heavy loads. This is no cause for concern.
If spark knock or pinging occurs at a steady engine speed, under normal load, change
brands of gasoline. If spark knock or pinging persists, see an authorized servicing dealer.
Fuel tank capacity:
1P61FA1P65FA1P68FA1P70F1P70FA: 1L (0.267 US Gal, 0.222 Imp Gal)
1P75F: 1.4L(0.374 US Gal, 0.310 Imp Gal)
1P61FE1P65FE: 0.9L(0.24 US Gal0.2 Imp Gal)
DANGER: Gasoline and its vapors are extremely flammable and explosive.
Do not use pressurized starting fluids.
Vapors are flammable.
WARNING
LOWER
UPPER
GB

Related product manuals