EasyManua.ls Logo

LS tractor MT225HE - Checking Fuel Filter Element

LS tractor MT225HE
210 pages
Print Icon
To Next Page IconTo Next Page
To Next Page IconTo Next Page
To Previous Page IconTo Previous Page
To Previous Page IconTo Previous Page
Loading...
5 -29
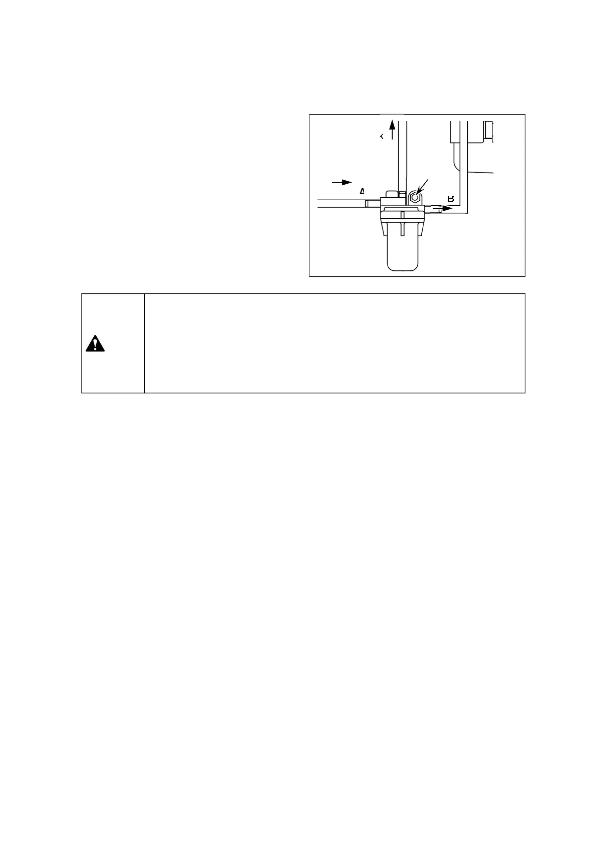
A
C
B
Fuel tank
(Feed)
Fuel tank
(Return)
Injection pump
Bolt
(13) Checking Fuel filter element
Before starting engine, check the fuel filter
element visually if some water is in the fuel filter
or not.
This filter is installed on the right-hand side of
your engine.
If some water exists in the fuel filter, you can
find a layer through the transparent bowl. If
necessary, drain the water from fuel filter.
Do not allow dirt to enter the fuel system. Thoroughly clean the area around a fuel
system component that will be disconnected. Fit a suitable cover disconnected fuel
system component. Do not fill the new filter with fuel. Invisible fine contaminants
can enter the injection pump and it may cause damage to the fuel injection system.
Do not throw the exhausted waste fuel to any place. The waste fuel must be
disposed according to the environment laws.
Caution

Table of Contents

Related product manuals