EasyManua.ls Logo

Luma MF26B - Installing the Water Pump

Default Icon
18 pages
Print Icon
To Next Page IconTo Next Page
To Next Page IconTo Next Page
To Previous Page IconTo Previous Page
To Previous Page IconTo Previous Page
Loading...
7
Say Goodbye to Ugly Products
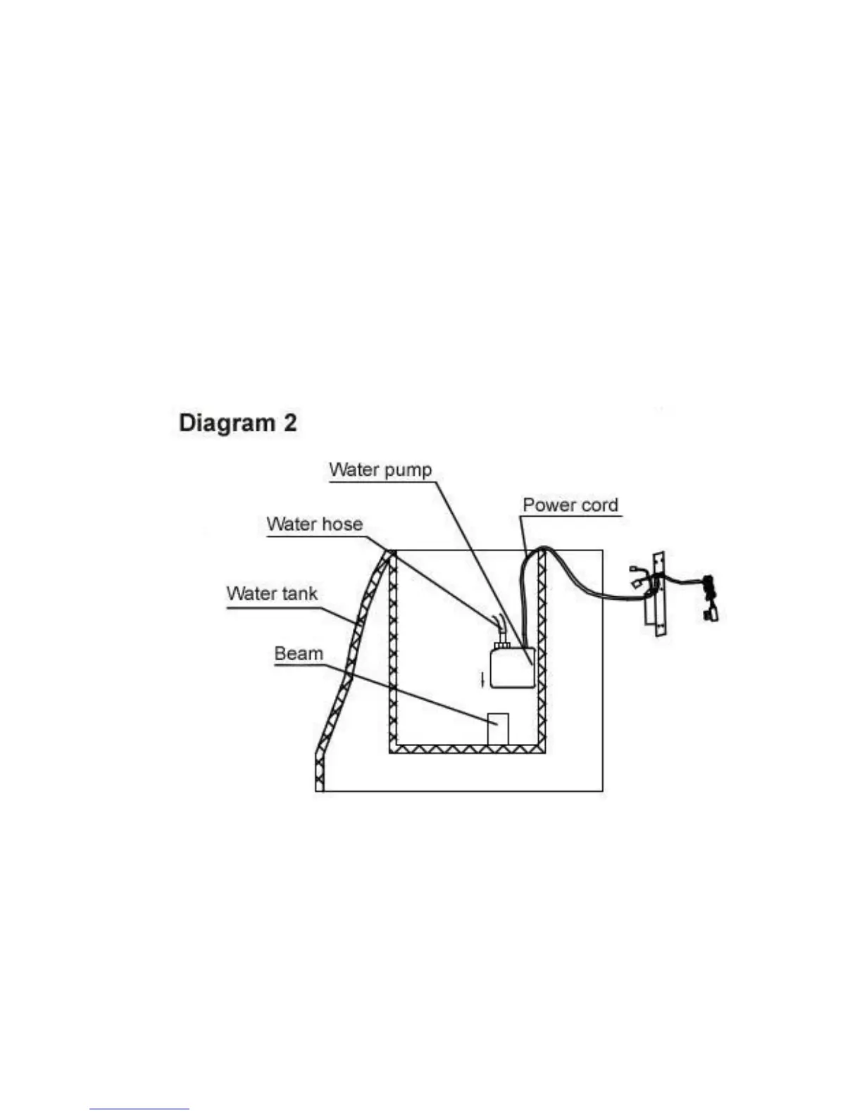
STEP 2: INSTALLING THE WATER PUMP
a. Refer to diagram 2. Remove the water pump from the packaging, making
sure not to pull it out by the power cord. The water pump will be attached
to a metal panel.
b. Position the water pump in an upright position and place it on the plastic
beam located at the bottom of the water tank. A small portion of the
power cord will be submerged in the tank, but most of it should be placed
outside the water tank.

Related product manuals