EasyManua.ls Logo

Luna MD30B - Page 25

Luna MD30B
Print Icon
To Next Page IconTo Next Page
To Next Page IconTo Next Page
To Previous Page IconTo Previous Page
To Previous Page IconTo Previous Page
Loading...
24
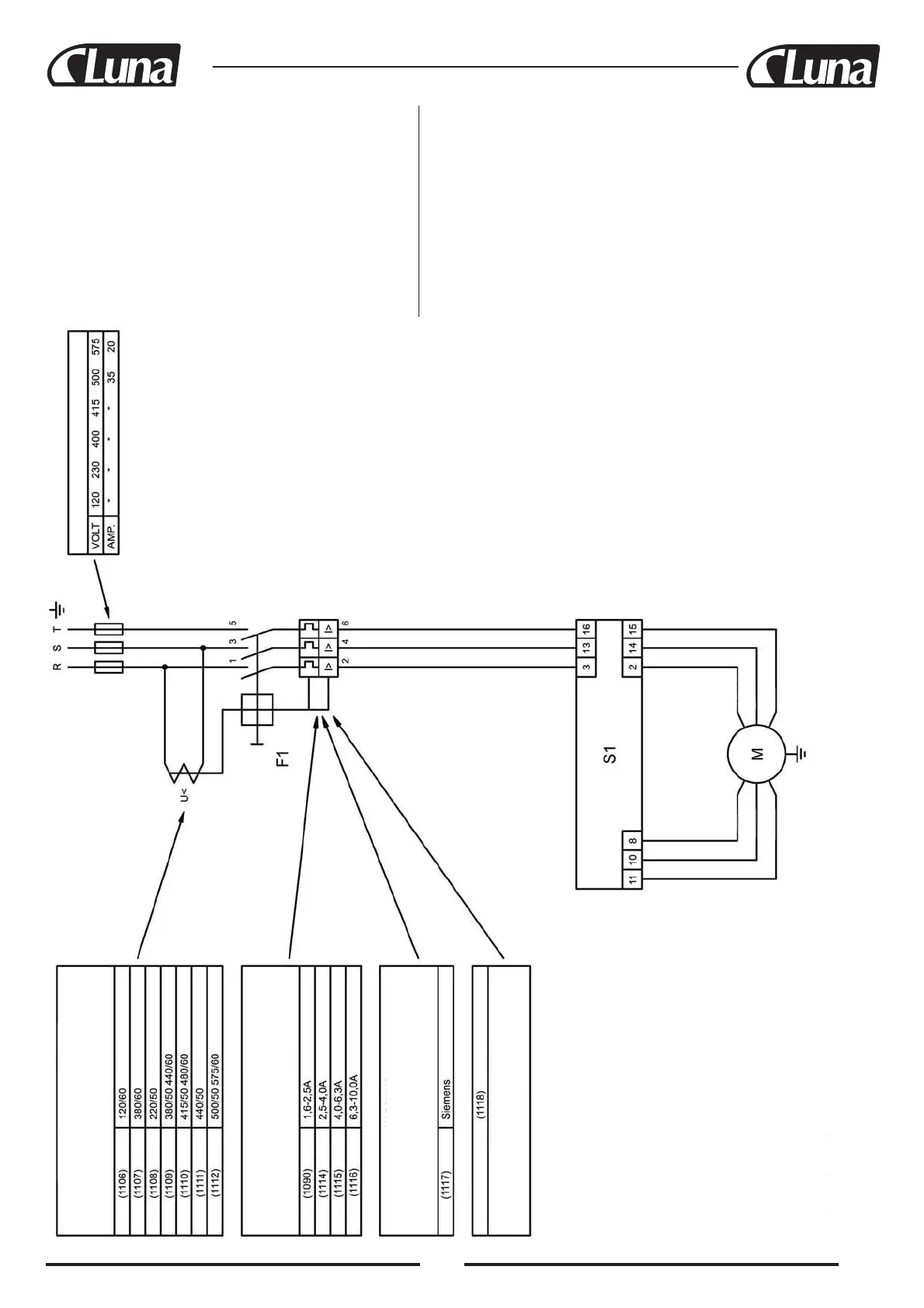
Cewka stycznika wyłącznika głównego
Wyzwalacz przeciążeniowy wyłącznika
Obudowa
Skrzynka sterowania kompletna
Start / Stop
* Bezpiecznik nie jest wymagany
Wyłącznik główny
(1096)
Przełącznik obrotów silnika
Bezpiecznik (wartość maks.)
Silnik
Czerwony
Szary
Żółty
Czarny
Niebieski
Biały
Niebieski
Brązowy
Zielony
Żółty
Czerwony
Czarny
Szary
Biały
SCHEMAT POŁĄCZEŃ ELEKTRYCZNYCH
dalej w prawo, tak by sprężyna odłączyła się od wkrętu w wałku
napędowym posuwu pionowego. Teraz osłonę sprężyny można
zdjąć. Przy ponownym montażu wsunąć osłonę wraz ze sprężyną
na swoje miejsce i obracać w lewo, do momentu aż sprężyna zac-
zepi się za wkręt na wałku. Kontynuować pokręcanie w lewo, aż
do uzyskania właściwej siły, zapewniającej powrót wrzeciona do
góry. Wówczas zablokować osłonę przy użyciu wkrętu ustalające-
go.
SILNIK
W przypadku konieczności wymontowania stojana silnika postę-
pować następująco.
ODŁĄCZYĆ MASZYNĘ OD SIECI ZASILAJĄCEJ.
Wymontować – w sposób podany wcześniej – skrzynkę przekład-
niową, tuleję łożyskową wrzeciona i wałek napędowy posuwu pio-
nowego. Odłączyć od przełącznika obrotów kable zasilania silnika
i liniowe. Zamocować obudowę tulei na taśmach nośnych.
Wykręcić śruby i unieść obudowę na bok. Wówczas wymontować
mechanizm podnoszący głowicy wiertarskiej. Wykręcić dwie
śruby stopniowe, znajdujące się z lewej strony obudowy tulei,
które mocują stator silnika, i zaznaczyć jego położenie względem
obudowy. Przez lekkie stukanie w dolną powierzchnię obudowy
spowodować by stator wysunął się z obudowy w dół. Następnie
wcisnąć od dołu nowy stator do obudowy, sytuując go w miejscu
uprzednio zaznaczonym, tj. tym samym gdzie znajdował się stary.

Related product manuals