EasyManua.ls Logo

Luna MD30B - Column Assembly; Main Column Components

Luna MD30B
Print Icon
To Next Page IconTo Next Page
To Next Page IconTo Next Page
To Previous Page IconTo Previous Page
To Previous Page IconTo Previous Page
Loading...
32
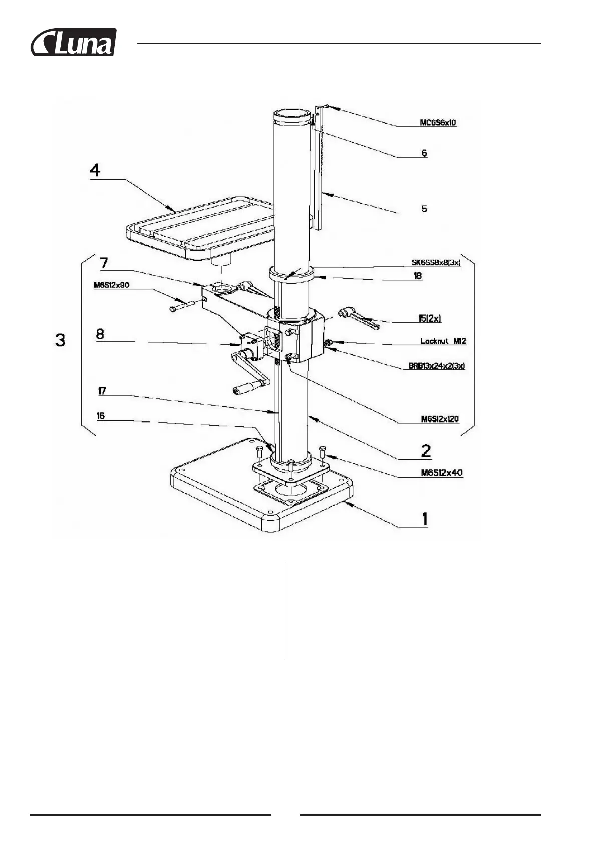
COLUMN
Pos. Art.No Description
1. 1044 Base plate
2. 1045 Column
3. 1046 Table arm complete
4. 1047 Table
5. 1104 Rack
6. 1058 Pin
Pos. Art.No Description
7. 1048 Table arm
8. 1049 Crank handle
15. 1050 Locking handle
16. 1051 Lower ring
17. 1052 Rack
18. 1053 Upper ring

Related product manuals