EasyManua.ls Logo

Luna MD30B - Crank Assembly; Crank Mechanism Parts

Luna MD30B
Print Icon
To Next Page IconTo Next Page
To Next Page IconTo Next Page
To Previous Page IconTo Previous Page
To Previous Page IconTo Previous Page
Loading...
34
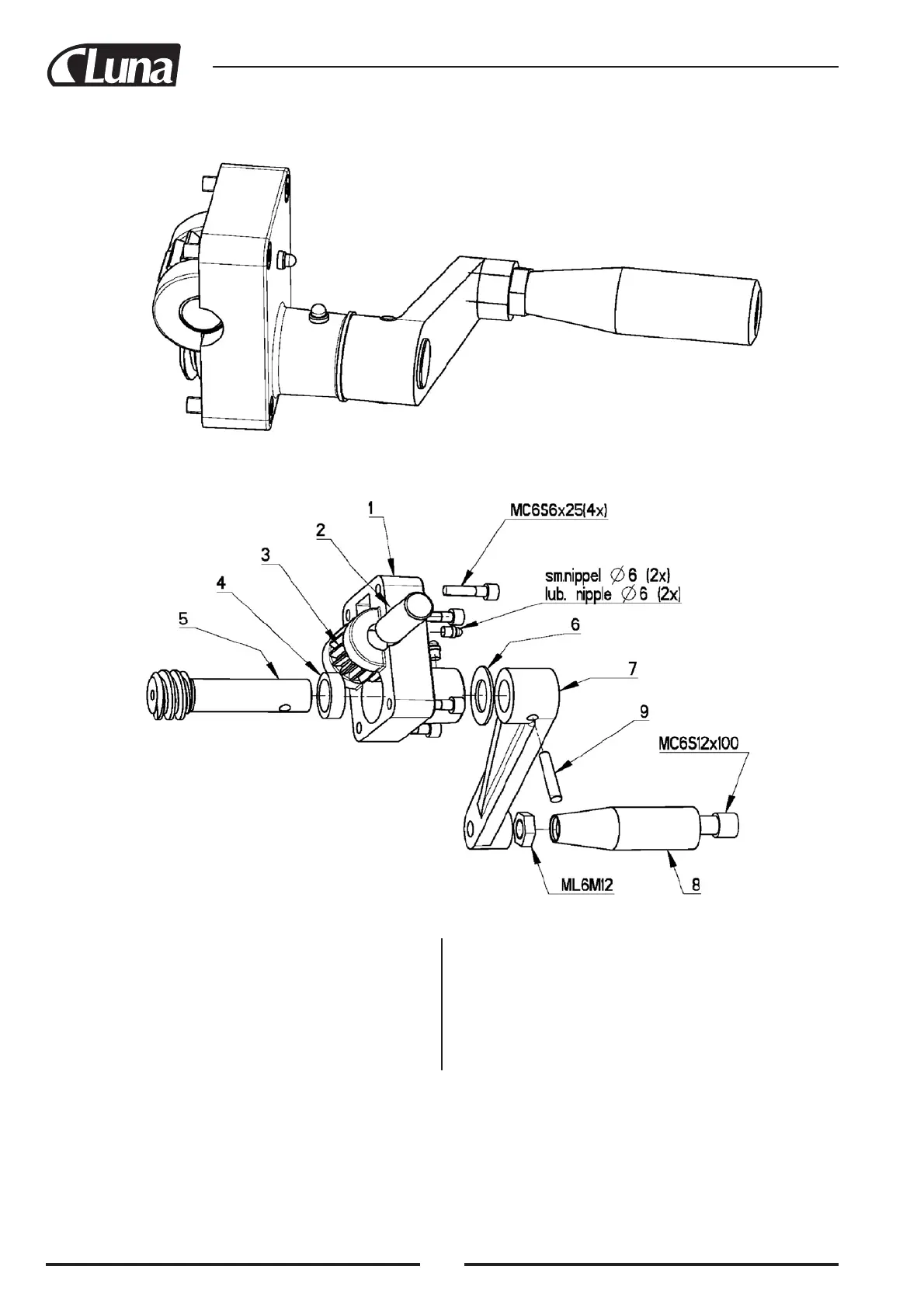
CRANK COMP.
Pos. Art.No Description
1. 1060 Worm gear box
2. 1061 Shaft
3. 1062 Gear
4. 1063 Spacer
5. 1064 Worm shaft
Pos. Art.No Description
6. 1065 Washer
7. 1066 Crank
8. 1067 Handle
9. 1068 Screw

Related product manuals