EasyManua.ls Logo

MacMah MJ2325A - Aligning Sliding Table; Installing the Sliding Table

Default Icon
31 pages
Print Icon
To Next Page IconTo Next Page
To Next Page IconTo Next Page
To Previous Page IconTo Previous Page
To Previous Page IconTo Previous Page
Loading...
reduce the risk of kickback,which can cause serious
injury.
1. There are two holes on each guide holder,first put
one adjusting link pole against the guide holder and
align the holes on the adjusting link pole with the
holes on guide holder, insert one short guide axle,
add one flat washer 12, spring washer 12 and hex nut
M12 and hand tighten ,repeat the above steps to
install the lower hole use one long guide axle,
repeat for another adjusting link pole.
2. Lift the long rail slightly and keep the holes on it
align with the holes on the two shorrt guide axles.
insert two hex socket cap head screw M8×
35 and
hand tighten.
3. lift the short rail slightly and keep the holes on it
align with the holes on the two long guide
axles ,insert two hex socket cap head screw M8×
35
and hand tighten.
4. when the slide table slides smoothly without any
resistance over the long and short rails, tighten all the
screws with proper wrench.
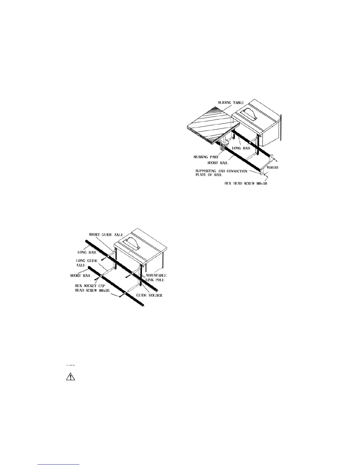
8.6 Installing the sliding table
Take out this accessory from the major case
Warning:
Do not lift the sliding table without help.
The sliding table accessory is too heavy to lift without
help, customer should seek assistance from staff to lift
this item.
1. Lift the sliding table slightly, the sliding table has
three bearing parts, slide the two upper parts over the
long rail and the lower one bearing part over the
short rail.
2. In front end of the rails take one supporting and
connection plate of rail and put it against the long and
short rail, align the holes on the plate with the holes on the
long and short rail ends. Match two flat washer 8,Insert
two hex head screw M8×
18 in both holes and tighten by
wrench.
3. At the back end of the long and short rails, repeat the
above steps for the upper hole of another supporting and
connection plate of rail,lift the brace accessory, align the
three holes on the brace tube(F53) and supporting and
connection plate of rail and short rail, put a hex head screw
M8×
18 and a flat washer 8 into the holes and tighten.
8.7 Aligning sliding table
1. Stand at the front of the saw and line up the front edges
of the table and siliding table ,if the sliding table’s surface
is lower or higher than the major table’s surface, you can
adjust it by one set adjustable bolts under the guide
holder ,first loosen 4 hex nut M12(F75) and hex nut
M8(F05), tighten or loosen the two bolts M8×35(F08) ,do
this can make the long and short rails up and down, till
adjust the sliding table to the proper position, tighten the 2
hex nuts M8 and the 4 hex nut M12.
1. If the right and left edges of the sliding table aren’t in