EasyManua.ls Logo

Major tech MT330 - Simplified Earth Resistance Measurement Method; DC;AC Voltage Measurements

Major tech MT330
12 pages
Print Icon
To Next Page IconTo Next Page
To Next Page IconTo Next Page
To Previous Page IconTo Previous Page
To Previous Page IconTo Previous Page
Loading...
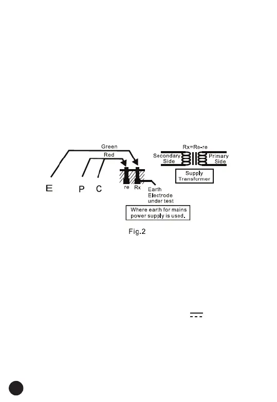
9. SIMPLIFIED EARTH RESISTANCE MEASUREMENT METHOD
1. This method is recommended where an earth resistance higher than
10Ω is measured or where it is not possible to drive auxiliary earth
spikes. An approximate value of earth resistance can be obtained by the
two wire system where is shown in Fig. 2.
2. Rotary to function switch to "EARTH VOLTAGE" position and press to
test. Make certain that earth voltage is less than 10V.
3. First rotary the function switch to "200Ω" position and press to test, read
earth resistance. If the display shows "1" (MSD), switch to "2000Ω"
position and read earth resistance.
4. The reading obtained (Rx) is an approximate earth resistance value.
There is no need for external shorting as P and C terminals are shorted
by using the test leads specified for the Simplified measurement.
5. Rx = Re re
Rx = True Earth Resistance
Re = Indicated Value re = Earth Resistance of Earth Electrode
6. Since measuring current is as low as 2 mA, the earth leakage breaker
(ELCB) does not trip even if the earth side of the commercial power
supply with an ELCB is used.
* Follow the proper connection such as Fig1.
10. DC/AC VOLTAGE MEASUREMENTS
1. Set the function switch to the highest 1000V DC ( ) or 750VAV (~)
position.
2. Insert the black test lead banana plug into the negative COM jack.
3. Insert the red test lead banana plug into the positive V jack.
4. Touch the black test probe tip to the negative side of the circuit.
5. Touch the red test probe tip to the positive side of the circuit.
6. Read the voltage in the display.
DC/AC VOLTAGE MEASUREMENTS: If the polarity is reversed, the
display will show (-) minus before the value
9
(5) Rx = Re re
Rx = True Earth Resistance
Re = Indicated Value re = Earth Resistance
of Earth Electrode
(6) Since measuring current is as low as 2 mA, the
earth leakage breaker (ELCB) does not trip
even if the earth side of the commercial power
supply with an ELCB is used.
* Follow the proper connection such as Fig1.
VII. DC/AC VOLTAGE MEASUREMENTS
750VAV (~) position.
2, Insert the black test lead banana plug into the negative
COM jack.
3, Insert the red test lead banana plug into the positive V jack.
4,Touch the black test probe tip to the negative side of the
circuit.
5,Touch the red test probe tip to the positive side of the
circuit.
6,Read the voltage in the display.
DC/AC VOLTAGE MEASUREMENTS: If the polarity is
reversed, the display will show (-) minus before the value
VIII. 200kRESISTANCE MEASUREMENTS
1, Set the function switch to the highest 200k position.
2, Insert the black test lead banana plug into the negative
COM jack
3, Insert the red test lead banana plug into the positive
jack.
8

Related product manuals