EasyManua.ls Logo

MAK M 20 - Page 314

MAK M 20
350 pages
Print Icon
To Next Page IconTo Next Page
To Next Page IconTo Next Page
To Previous Page IconTo Previous Page
To Previous Page IconTo Previous Page
Loading...
Oil pressure control valve
Maintenance / Adjust
A5.05. 08.05.01.00
15000
M20
en / 31.05.2010 IB024704 2/3
08
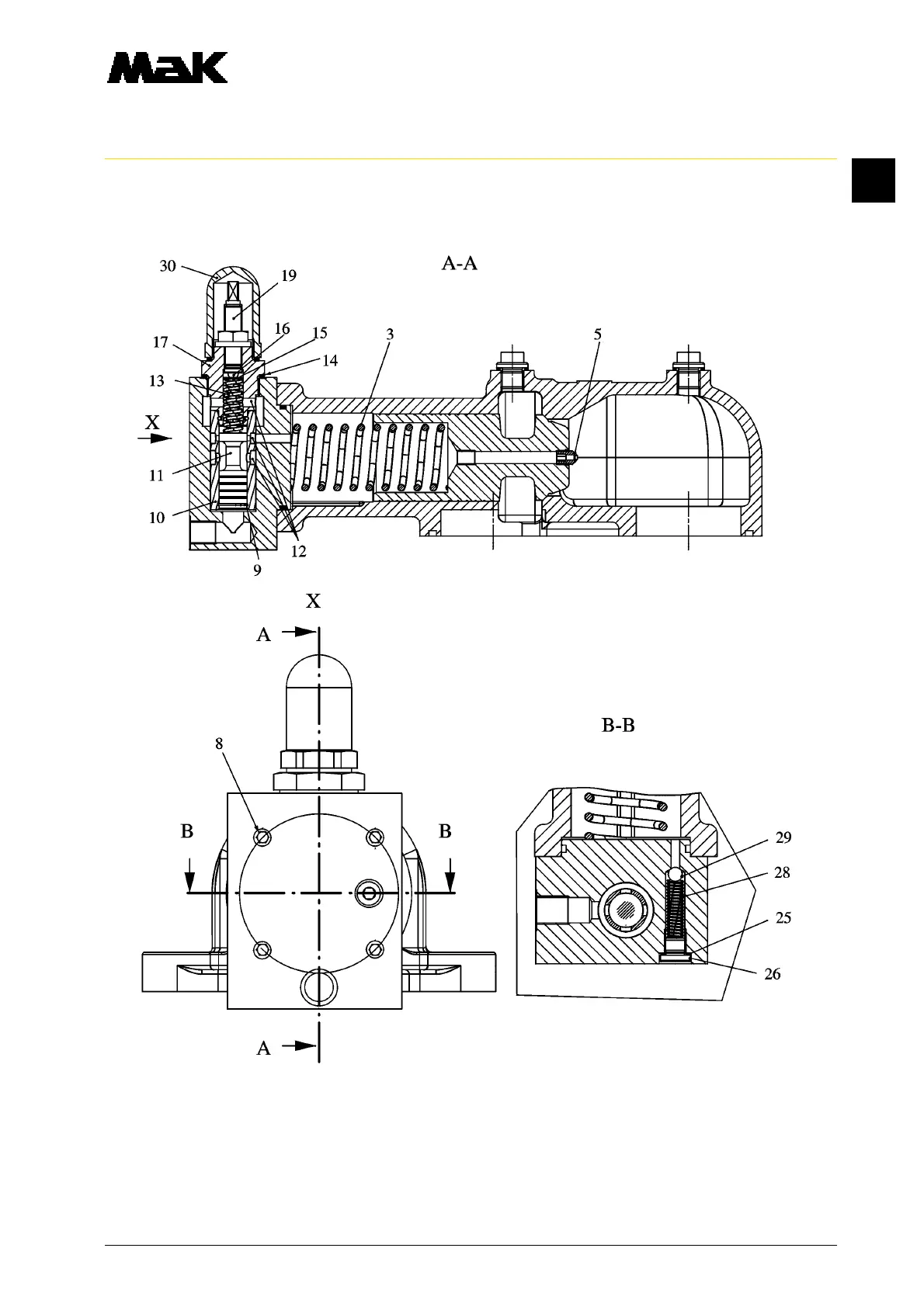
1.2.5 Remove the screw plug (26) of the pilot control unit (A-A) with the sealing ring (25),
pressure spring (28) and ball (29).
1.3 Clean all parts with gas oil and check them.
1.4 Check the free passage of the control oil bore (12) in the pressure control valve and in the set
screw (5) and remove any deposits.
1.5 Check the valve seats, balls, piston seating as well as the slide faces and grind them if
necessary.

Related product manuals