EasyManua.ls Logo

MAK M 20 - Page 86

MAK M 20
350 pages
Print Icon
To Next Page IconTo Next Page
To Next Page IconTo Next Page
To Previous Page IconTo Previous Page
To Previous Page IconTo Previous Page
Loading...
Inlet Valve Cones
Repair / Checking
A5.05. 01.08.01.04
M20
en / 05.10.2010 IB023324 2/5
01
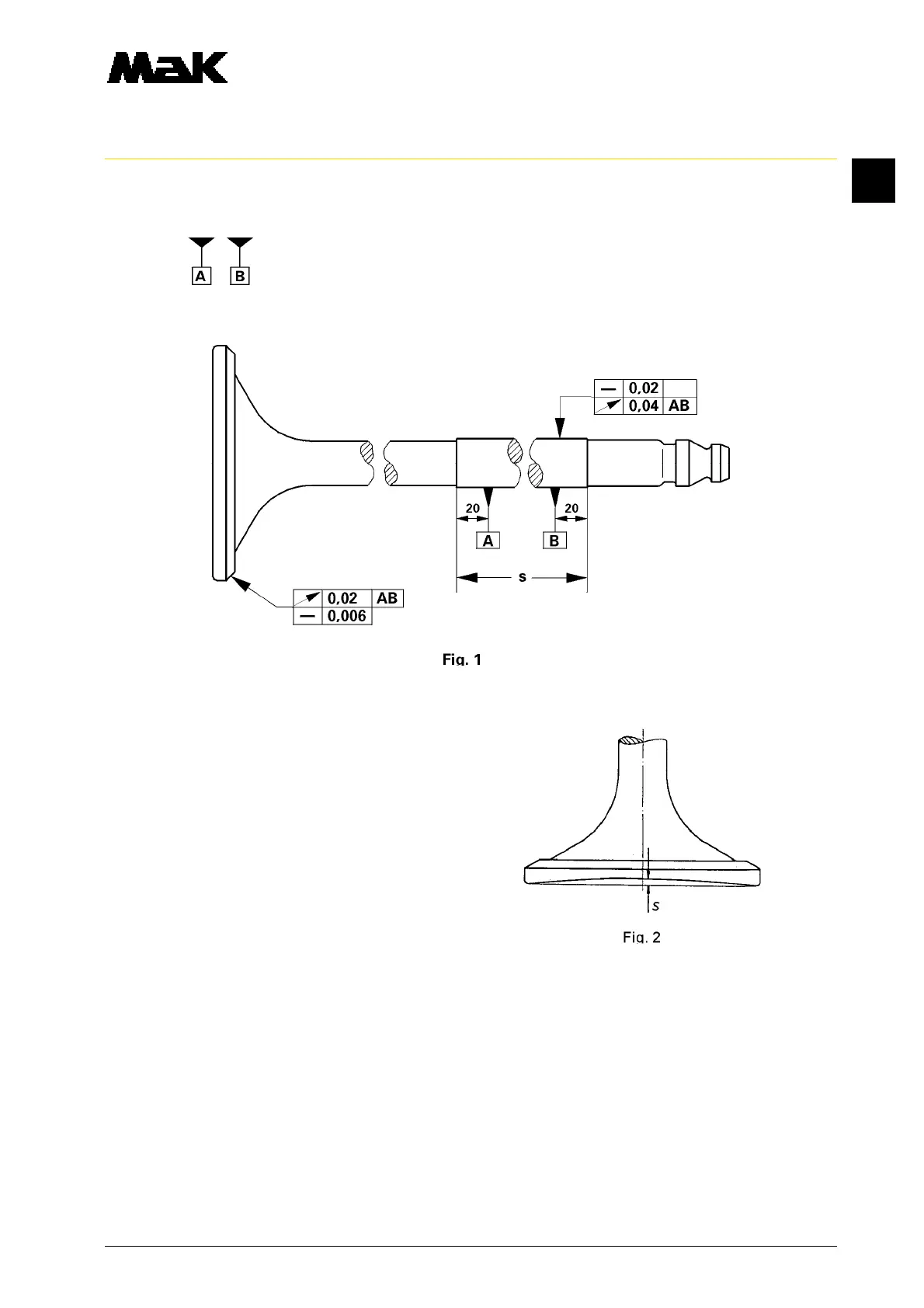
when the deviation from the straightness is not greater than the following values (Fig. 1).
Measuring range “s = 200 mm
= support points for test device
when the radial run-outs of the valve cones do not exceed the following values:
1.2 Valves cannot be reused when
the valve cone face is damaged
(cracks,blowholes)
the wear caused by corrosive material is
> 2 %
of the valve head diameter (comparison
with new valve)
concave burns “s” caused by high-
temperature corrosion at the lower side
of the valve head
> 1.5 mm (Fig. 2)
the lower part of the valve head
indicates severe pitting (formation of so-
called “paving stones”)
corrosion pits and mechanical damage
in the area of the valve stem, stem
transition and valve head
refinishing limit dimension is exceeded.
2. Cleaning
Clean the valve cone, e.g. blasting with

Related product manuals