EasyManua.ls Logo

Manitowoc RFF Series - Rff1300;Rff2500; Rff0620;Rnf0620;Rnf1100

Manitowoc RFF Series
168 pages
Print Icon
To Next Page IconTo Next Page
To Next Page IconTo Next Page
To Previous Page IconTo Previous Page
To Previous Page IconTo Previous Page
Loading...
Part Number 000015433_05 3/21 145
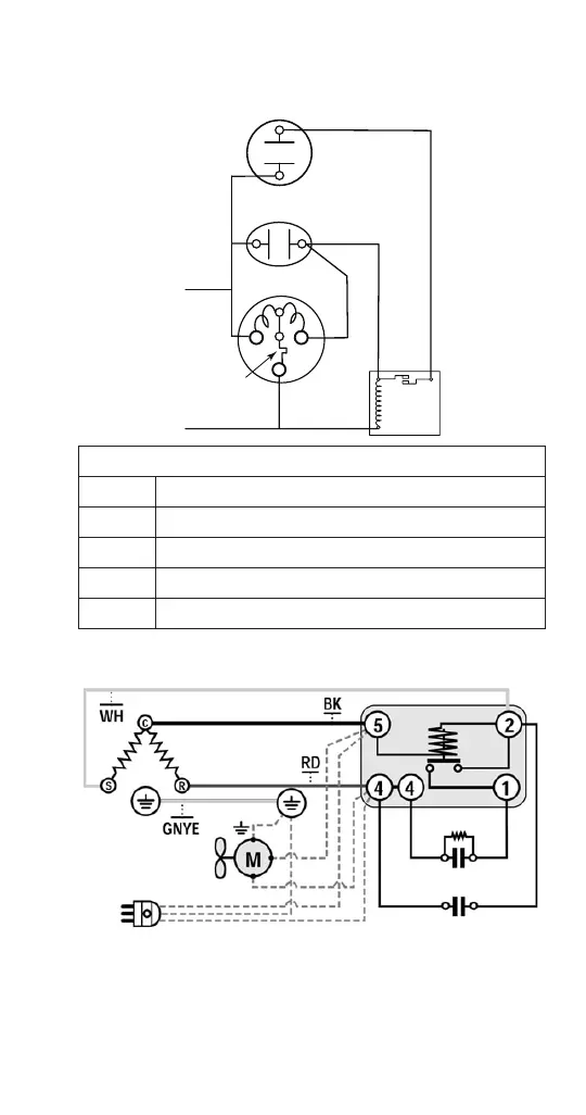
RFF1300/RFF2500

50 Compressor
51 Run Capacitor
52 Start Capacitor
53 Relay
54 Overload

(YEL)
(C)
(S)(R)
(YEL)
L1
L2
BLU
5
2
1
50
53
51
54
52

Table of Contents

Related product manuals