EasyManua.ls Logo

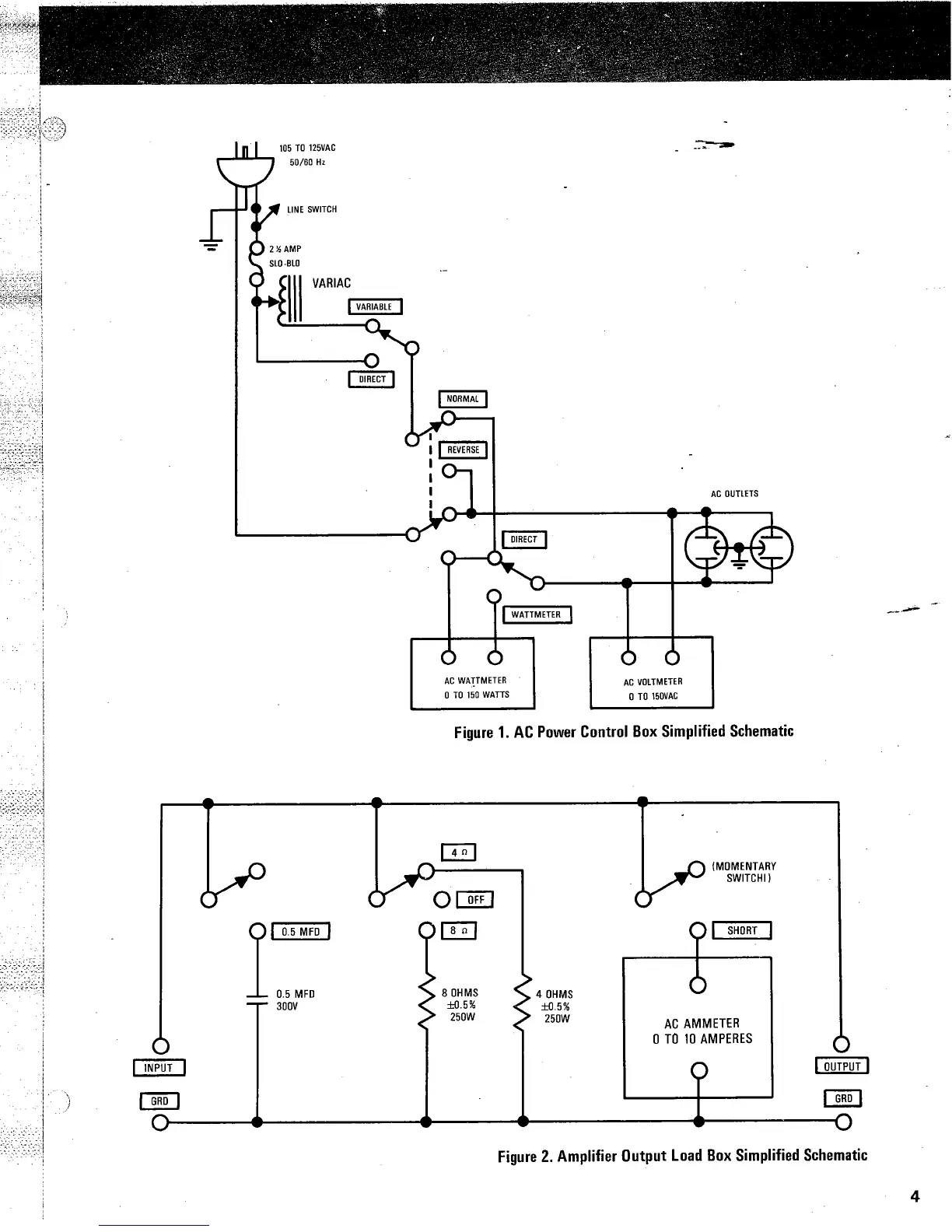
Marantz 1030 - AC Power Control Box Simplified Schematic; Amplifier Output Load Box Simplified Schematic

Marantz 1030
24 pages
Print Icon
To Next Page IconTo Next Page
To Next Page IconTo Next Page
To Previous Page IconTo Previous Page
To Previous Page IconTo Previous Page
Loading...

Related product manuals