EasyManua.ls Logo

Marantz 1250 - Page 3

Marantz 1250
34 pages
Print Icon
To Next Page IconTo Next Page
To Next Page IconTo Next Page
To Previous Page IconTo Previous Page
To Previous Page IconTo Previous Page
Loading...
1.
POWER
AMPLIFIER
ADJUSTMENT
1.1
Adjustment
of
idling
current
Connect
VTVM
between
left.
channel
J715
and
J716.
Adjust
R724
until
the
meter
reads
10mV.
Similarly,
connect
VTVM
between
right
channel
J715
and
J716
and
adjust
R724
until
the
meter
reads
10mV.
1.2
DC-OFFSET
adjustment
Connect
VTVM
to
JN10
and
JN14
(or
ground)
and
adjust
left
channel
R714
until
the
meter
indication
reaches
OmV
(+5mV).
Similarly,
connect
VTVM
to
JN11
and
JN14
(or
ground)
and
adjust
right
channel
R714
until
the
meter
indication
reaches
OmV
(+5mV).
2.
POWER
SUPPLY
ADJUSTMENT
Connect
a
voltmeter
between
J810
and
J812.
Adjust
R814
until
meter
indicates
55
VDC.
Similarly
connect
a
voltmeter
between
J816
and
J812.
Adjust
R815
until
meter
indicates
—55
VDC.
105
TO
125VAC
§0/60
Hz
VARIAC
AC
OUTLETS
AC
WATTMETER
0
TO
150
WATTS
AC
VOLTMETER
0
TO
150VAC
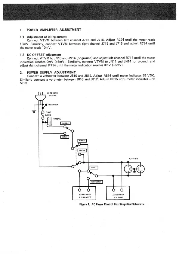
Figure
1.
AC
Power
Control
Box
Simplified
Schematic

Related product manuals