EasyManua.ls Logo

Marantz 3600 - Page 12

Marantz 3600
30 pages
Print Icon
To Next Page IconTo Next Page
To Next Page IconTo Next Page
To Previous Page IconTo Previous Page
To Previous Page IconTo Previous Page
Loading...
[So
reo
a
oS
Te
ee
ne
en
ees
ee
eee
ee
=“
1/2
AMP
SLO-BLO
DIRECT
NORMAL
za
s
i
|__|
OFF
Ly
lo
O
O
REVERSE
_
|
0
C)
.
VARIABLE
AC
WATTMETER
AUTO
TRANSFORMER
Es
O
Q
é
oo
|
OO
2
AC
VOLTMETER
5
0-150V
AC
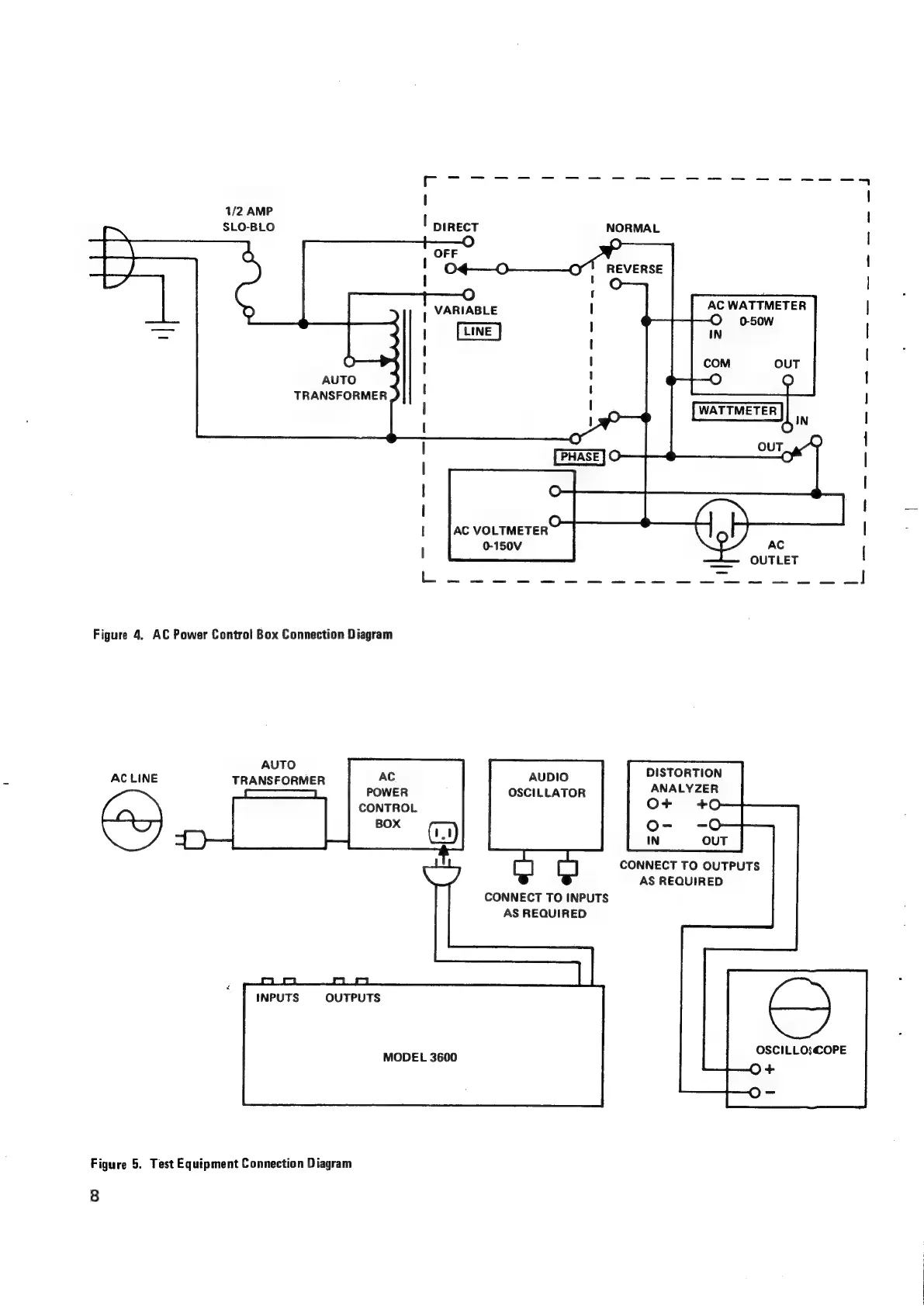
Figure
4.
AC
Power
Control
Box
Connection
Diagram
AUTO
DISTORTION
AC
LINE
TRANSFORMER
AC
nee
ANALYZER
POWER
OSCILLATOR
CONTROL
CONNECT
TO
OUTPUTS
AS
REQUIRED
CONNECT
TO
INPUTS
AS
REQUIRED
INPUTS
OUTPUTS
OSCILLOSCOPE
MODEL
3600
Figure
5.
Test
Equipment
Connection
Diagram
8

Related product manuals