EasyManua.ls Logo

Marantz 5010 - Parts Assembled on the Reverse of the Chassis

Marantz 5010
48 pages
Print Icon
To Next Page IconTo Next Page
To Next Page IconTo Next Page
To Previous Page IconTo Previous Page
To Previous Page IconTo Previous Page
Loading...
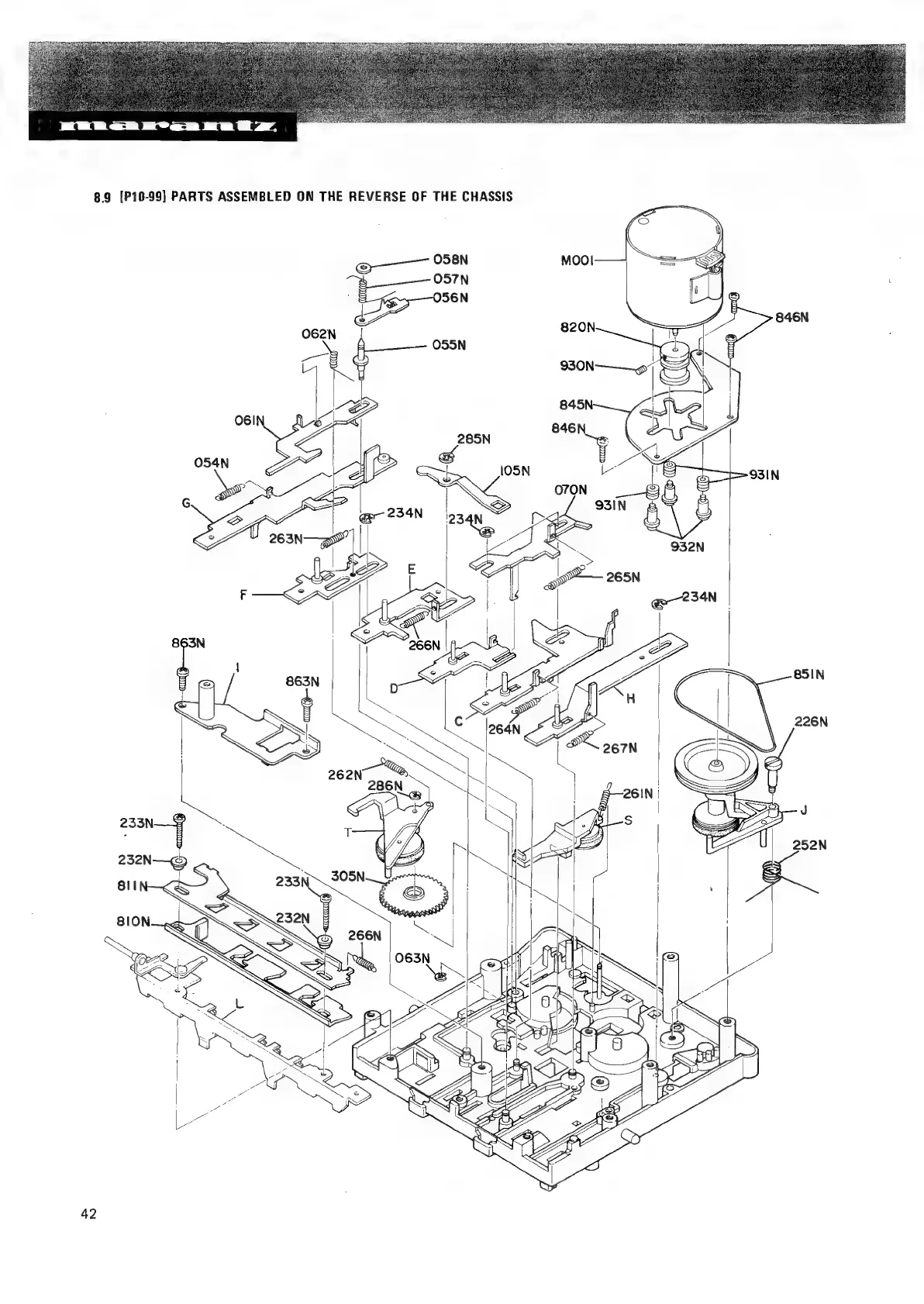
8.9
[P10-99]
PARTS
ASSEMBLED
ON
THE
REVERSE
OF
THE
CHASSIS
42

Related product manuals