EasyManua.ls Logo

Marantz DV4500 - Slide Show Mode for JPEG; On-Screen Information Display; Program Playback for MP3;JPEG;WMA; Random Playback for MP3;JPEG;WMA

Marantz DV4500
28 pages
Print Icon
To Next Page IconTo Next Page
To Next Page IconTo Next Page
To Previous Page IconTo Previous Page
To Previous Page IconTo Previous Page
Loading...
You can check information on the current file.
Press the DISPLAY button.
The name of the file currently in
play will be displayed.
<Example: MP3>
Press the DISPLAY button to show the track number,
the elapsed time, the repeat
status, and the playback status
at the top of the screen.
will be displayed when the
repeat play has been selected.
T- indicates Track repeat
G- indicates Group (folder) repeat
A- indicates Disc repeat
Press the DISPLAY button to exit.
During program or random playback, each playback
status will be displayed when you press the DISPLAY
button. Then press the DISPLAY button to exit.
3
2
1
JPEGMP3
On-Screen Information
You can check information on the current file.
Press the DISPLAY button.
The name of the file currently in
play will be displayed.
Press the DISPLAY button.
Title name based on tag infor-
mation currently in play will be
displayed.
Press the DISPLAY button.
•Artist name based on tag infor-
mation currently in play will be
displayed.
Press the DISPLAY button to
show the track number, the
elapsed time, the repeat sta-
tus, and the playback status
at the top of the screen.
will be displayed when the repeat play has been
selected.
T- indicates Track repeat
G- indicates Group (folder) repeat
A- indicates Disc repeat
Press the DISPLAY button to exit.
During program or random playback, each playback
status will be displayed when you press the DISPLAY
button. Then press the DISPLAY button to exit.
5
4
3
2
1
WMA
Slide Show Mode
You can switch to the slide show mode during playback.
Press the MODE button during playback.
The slide show mode screen will appear.
The slide show mode cannot be switched when it is
stopped, or from the file list screen or the Picture CD
menu screen.
Press the ENTER button.
The slide show mode will change.
CUT IN/OUT: The entire image appears in one time.
FADE IN/OUT: The image appears gradually and then
disappears.
Press the MODE button to exit.
3
2
1
JPEG
NOTE:
If the file does not contain tag information, “NOT AVAIL-
ABLE” will be displayed.
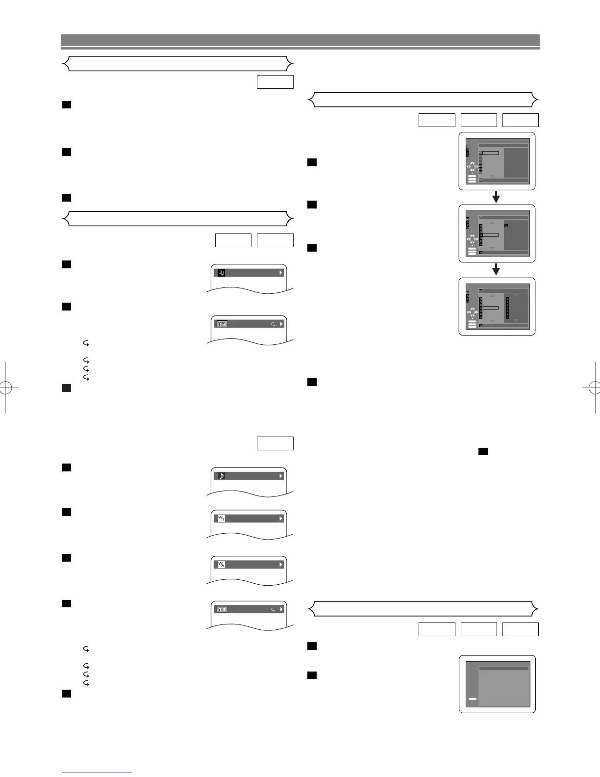
Program Playback (MP3/JPEG/WMA)
This feature allows you to program an
MP3, JPEG or WMA disc to play in a
desired sequence.
In stop mode, press the MODE
button.
The PROGRAM screen will
appear.
Press the Cursor buttons (K
or L) to select a group, then
press the ENTER button.
•A track selection screen appears.
Press the Cursor buttons (K
or L) to select a track, then
press the ENTER button to
save it in a program.
Press the CLEAR button to
erase the incorrect input.
The programmed track is dis-
played in the right-hand screen.
If the entire program cannot be
displayed at once on the screen,
L appears to go to the next page.
Pressing the
s button will show a list of folders that
belong to the one-level upper hierarchy than the cur-
rently selected folder.
Press the PLAY button to start programmed play-
back.
Programmed play starts.
NOTES:
Press the CLEAR button, and the last-programmed
entry will be deleted.
•To erase all the programmed tracks at once, select ALL
CLEAR at the bottom of the list at step
.
Press the RETURN button, and the STOP screen will
show up with the program contents in memory.
Press the STOP button once and then press the PLAY
button, playback will restart from the beginning of the
track being played previously. (program continued.)
Press the STOP button twice and then the PLAY button
again, playback will restart from the first track in the
usual way. Your program will be saved until either the
disc tray is open or power is turned off.
Up to 99 tracks can be set in a program.
If a disc in inserted that contains mixed MP3, JPEG
and WMA files, program setting allows 99 tracks for
combination of MP3, JPEG and WMA files.
If eight or more tracks were in a program, use SKIP
button H or G to see all the tracks.
2
4
3
2
1
WMAJPEGMP3
In stop mode, press the RANDOM button.
The RANDOM screen will
appear.
Press the PLAY button to play
the tracks in random order.
Random play starts.
•For a disc containing mixed MP3,
JPEG and WMA files, random play of those files will be
performed.
2
1
WMAJPEGMP3
Random Playback (MP3/JPEG/WMA)
PLAYING A DISC
20
EN
TRACK 01
TR 1/36 0:01:15
T
TRACK 01
TITLE NAME
ARTIST NAME
TR 1/36 0:01:15
T
2/32/3
ALBUM05
TRACK48
TRACK49
TRACK50
TRACK51
TRACK52
TRACK53
TRACK54
TRACK11
TRACK81
TRACK31
TRACK22
TRACK03
TRACK53
TRACK25
TRACK51
1/11/3
MP3 - COLECTION
ALBUM01
ALBUM02
ALBUM03
ALBUM04
ALBUM05
ALBUM06
ALBUM07
ALBUM01
1/12/3
ALBUM01
PROGRAM
FOLDER
TRACK11
TRACK08
TRACK09
TRACK10
TRACK11
TRACK12
TRACK13
TRACK14
TRACK11
MP3
WMA
JPEG
ENTER
PLAY
CLEAR
PROGRAM
FOLDER
MP3
WMA
JPEG
ENTER
PLAY
CLEAR
ENTER
PLAY
CLEAR
MP3
WMA
JPEG
FOLDER
PROGRAM
RANDOM
PLAY
DISC TITLE
RANDOM PROGRAM
--no indication --
E59M0UD.qx3 04.6.24 2:35 PM Page 20

Table of Contents

Other manuals for Marantz DV4500

Related product manuals