EasyManua.ls Logo

Marantz MD-19 - MD Unit(Kmk-260) Electrical Adjustments

Marantz MD-19
30 pages
Print Icon
To Next Page IconTo Next Page
To Next Page IconTo Next Page
To Previous Page IconTo Previous Page
To Previous Page IconTo Previous Page
Loading...
6
3. MD UNIT(KMK-260) ELECTRICAL
ADJUSTMENTS
Refer to the Service Manual for KMK-260(MD unit) when
you perform the following adjustments.
3-1. PRECAUTIONS FOR CHECKING LASER DIODE
EMISSION
To check the emission of the laser diode during adjustments,
never view directly from the top as this may lose your eyesight.
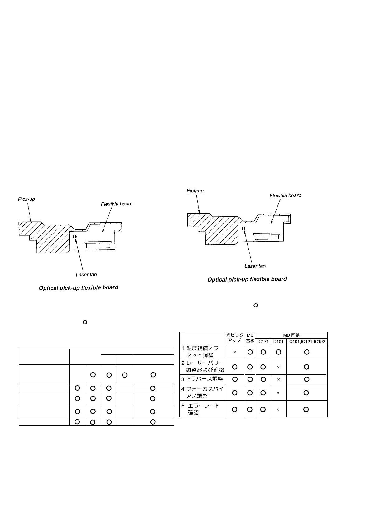
3-2. PRECAUTIONS FOR USE OF OPTICAL PICK-UP
(KMS-260A)
As the laser diode in the optical pick-up is easily damaged by
static electricity, solder the laser tap of the flexible board when
using it.
Before disconnecting the connector, de-solder first. Before con-
necting the connector, be careful not to remove the solder. Also
tale adequate measures to prevent-damage by static electric-
ity. Handle the flexible board with care as it breaks easily.
3-3. PRECAUTIONS FOR ADJUSTMENTS
1. When replacing the following parts, perform the adjust-
ments and checks with in the order shown in the follow
ing table.
Table 3-1.
MD circuit
MD
board
Optical
Pick-
up
MD
board
IC171 D101 IC101,IC121,IC192
1.Temperature
compensation
offset ad
j
ustment
X
2.Laser power
X
3.Traverse
ad
j
ustment
X
4.Focus bias
ad
j
ustment
X
5.Error rate check
X
2. Set the SERVICE MODE when performing adjustments. After
completing the adjustments, exit the SERVICE MODE.
3. Perform the adjustments in the order shown.
4. Use the following tools and measuring devices.
Laser power meter ( TQ8210 )
Optical sensor ( TQ82017 )
Oscilloscope (Measure after pre-forming CAL of prove.)
3.MDユニット(KMK‑260)3.MDユニット(KMK‑260)
3.MDユニット(KMK‑260)3.MDユニット(KMK‑260)
3.MDユニット(KMK‑260)
電気調整電気調整
電気調整電気調整
電気調整
以下の調整は、
MDMD
MDMD
MD
ユニットユニット
ユニットユニット
ユニット
KMK‑260KMK‑260
KMK‑260KMK‑260
KMK‑260
ServiceManualServiceManual
ServiceManualServiceManual
ServiceManual を参照し
て行ってください。
3‑1.3‑1.
3‑1.3‑1.
3‑1.
レーザーダイオード発光確認時の注意レーザーダイオード発光確認時の注意
レーザーダイオード発光確認時の注意レーザーダイオード発光確認時の注意
レーザーダイオード発光確認時の注意
調整時にレーザーダイオードの発光を確認する場合は失明のおそ
れがありますので絶対に真上から覗かないでください。
3‑2.3‑2.
3‑2.3‑2.
3‑2.
光ピックアップ光ピックアップ
光ピックアップ光ピックアップ
光ピックアップ
(KMS‑260A)(KMS‑260A)
(KMS‑260A)(KMS‑260A)
(KMS‑260A)
取扱時の注意取扱時の注意
取扱時の注意取扱時の注意
取扱時の注意
光ピックアップ内のレーザーダイオードは非常に静電破壊し易い
ため、取扱時はフレキシブル基板のレーザータップを半田ブリッ
ジしてください。
コネクタから外す時は、事前に半田ブリッジをしてから外してく
ださい。またコネクタを差す前に半田ブリッジをとらないように
注意してください。また静電破壊を防止する対策を充分に行い作
業してください。フレキシブル基板は切れ易いので取扱に注意し
てください。
3‑3.3‑3.
3‑3.3‑3.
3‑3.
調整時の注意調整時の注意
調整時の注意調整時の注意
調整時の注意
1.下記の部品を交換した時は、
印の調整、確認を下記表の順番
で行ってください。
3‑1
2. 調整はサービスモードにして行ってください。
調整終了後はサービスモードを解除してください。
3. 調整は掲載順に行ってください。
4. 治具、測定器は下記のものを使用します。
レーザーパワーメータ(アドバンテストTQ8210)
オプティカルセンサー(アドバンテストTQ82017)
オシロスコープ
(プローブの CAL を行ってから測定してください。)

Related product manuals