EasyManua.ls Logo

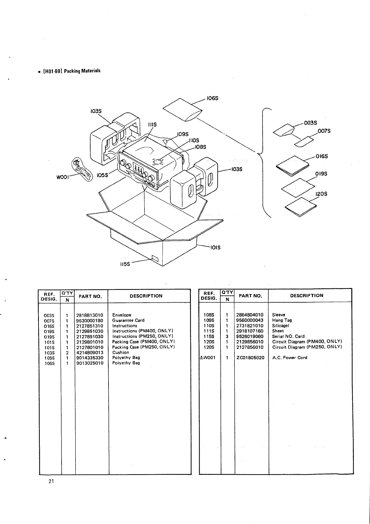
Marantz PM410 - Packing Materials; [H01-99] Packing Materials

Marantz PM410
27 pages
Print Icon
To Next Page IconTo Next Page
To Next Page IconTo Next Page
To Previous Page IconTo Previous Page
To Previous Page IconTo Previous Page
Loading...

Related product manuals