EasyManua.ls Logo

Marantz pmd325 - Front Panel Controls and Display; Power, Disc Tray, and Basic Controls; Display Indicators and Headphone Output

Marantz pmd325
52 pages
Print Icon
To Next Page IconTo Next Page
To Next Page IconTo Next Page
To Previous Page IconTo Previous Page
To Previous Page IconTo Previous Page
Loading...
ENGLISH
9
Front panel
5. NAMES AND FUNCTIONS
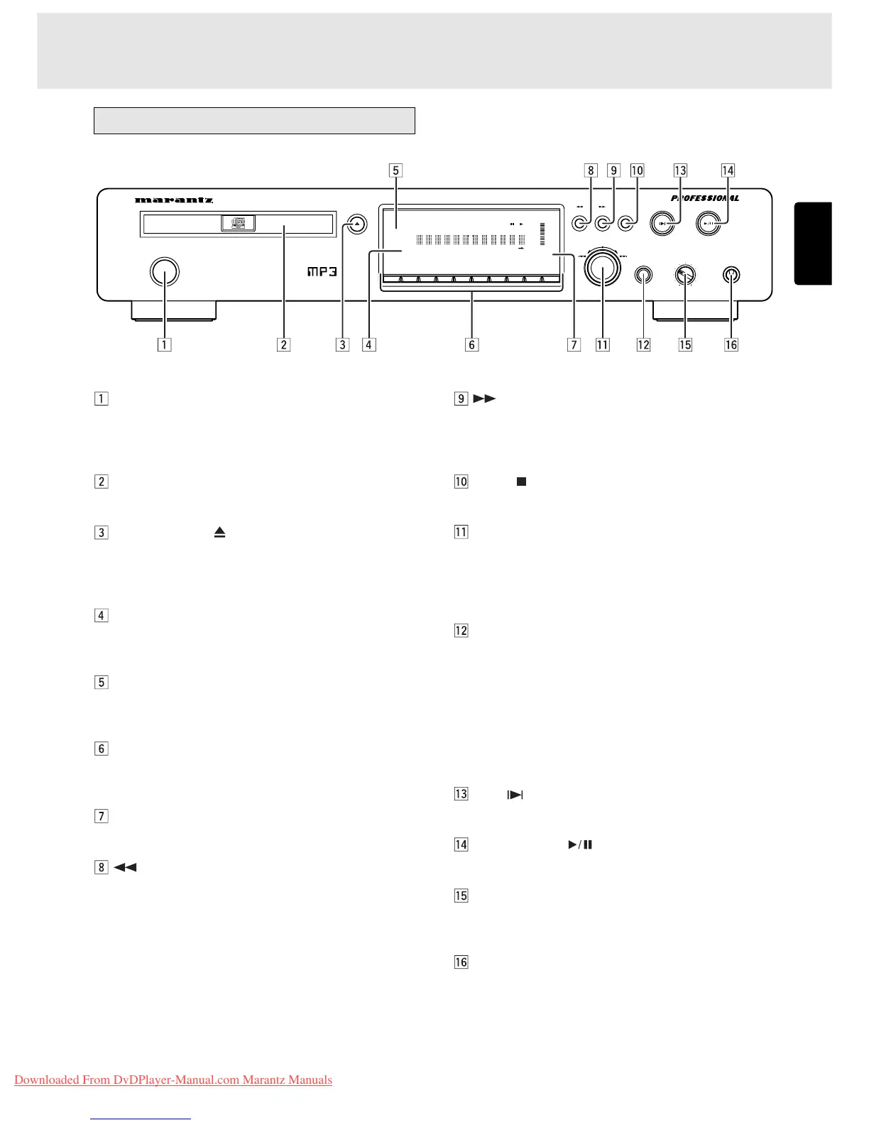
POWER ON/OFF switch
This is used to turn the player’s power ON and OFF. When
it is pressed, the display lights and the power is turned
on; when it is pressed again, the power is turned off.
Disc tray
This is where the CD to be played is placed.
OPEN/CLOSE button
This is used to open and close the disc tray. When it is
pressed, the disc tray opens; when it is pressed again, it
closes.
Remote sensor
This senses the infrared control signals sent from the
remote control unit.
END WARNING indicator
This starts flashing 15 seconds before the end of the track
now playing is reached.
Numeric buttons (0 to 9)
These are used to specify the numbers of the tracks to be
played.
Display
This shows the settings, play status, text information, etc.
(search backward) button
This is used to search backward during play.
It also serves as the album selector button when playing
discs with MP3 files recorded on them.
(search forward) button
This is used to search forward during play.
It also serves as the album selector button when playing
discs with MP3 files recorded on them.
STOP button
This is used to stop play.
EASY JOG/push enter button
Preceding or subsequent tracks can be searched (tracks
can be skipped) by turning the jog dial clockwise or
counterclockwise. In addition, the play functions (play
modes) can be set using the jog dial.
QUICK REPLAY button
This is used to search backward from the current play
position for the time equivalent to the setting and resume
play.
The button is operated by the play setting function as the
end monitor. In the case of the end monitor, play is
resumed from the position which is before the end position
of the track now playing by the duration which has been
set.
CUE button
This button is used to move to and start set cue points.
PLAY/PAUSE button
This is used to start play or temporarily suspend play.
PHONES LEVEL control
This is used to adjust the headphones volume level. The
level increases when it is turned clockwise.
PHONES jack
The headphones are connected to this jack. Use
headphones that come with a standard plug.
PLAY/PAUSE
+
OPEN/CLOSE
CUESTOP
EASY JOG
-
PHONESLEVELQUICK REPLAY
POWER ON/OFF
CD PLAYER PMD325
1
23456789
0
TIMER
DISC
TEXT
12 34 56 78 91011121314151617181920
TTL
TRK INDX
TTL
TIME
MP3
RNDM
PROG A
B
RPT
1
S.PLAY
END
WARNING
ALBUM
—+
Downloaded From DvDPlayer-Manual.com Marantz Manuals

Related product manuals