EasyManua.ls Logo

Master Forge 3218LTN - Page 10

Master Forge 3218LTN
20 pages
Print Icon
To Next Page IconTo Next Page
To Next Page IconTo Next Page
To Previous Page IconTo Previous Page
To Previous Page IconTo Previous Page
Loading...
ASSEMBLY INSTRUCTIONS
10
Lowes.com/masterfor
g
e
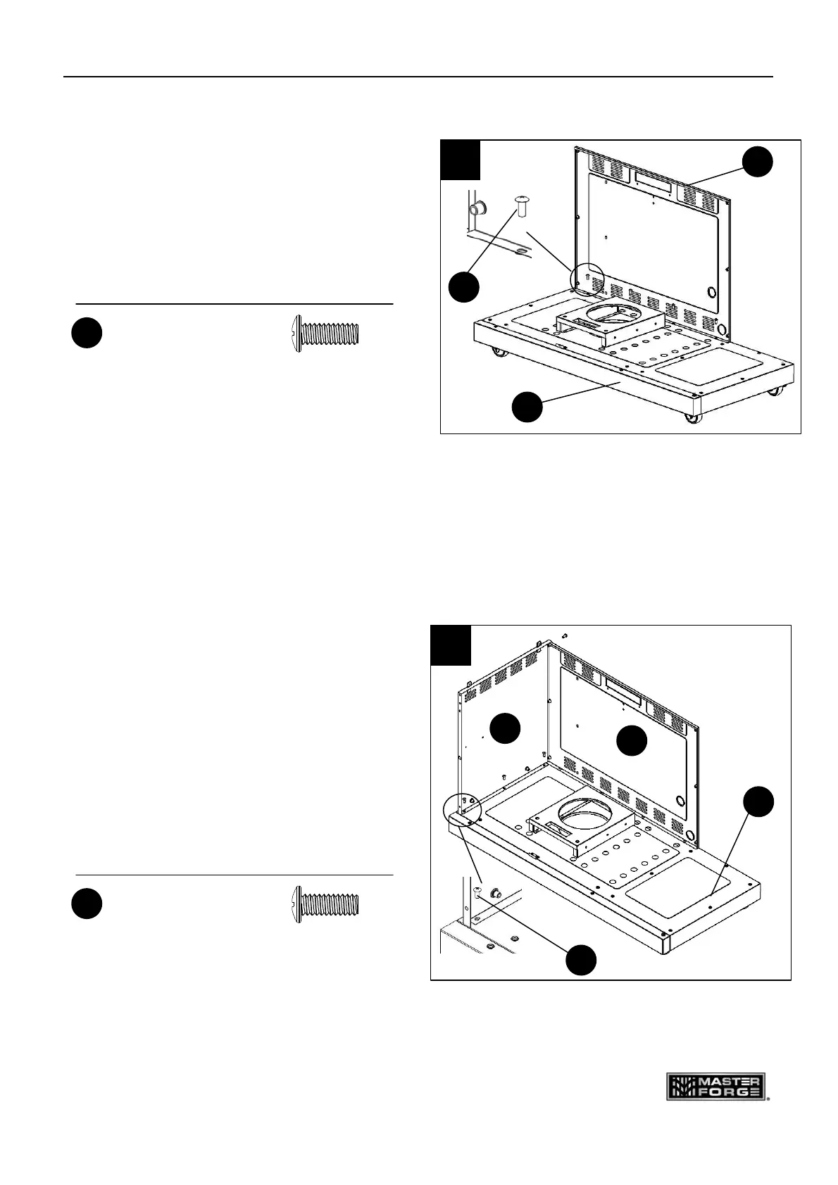
3. Align the holes in the left rear panel (I)
with the holes in the main bottom panel (S) and
insert the screws (BB) into the aligned holes.
(Fig. 3)
Note: Do not tighten the screws completely.
Leave at least one full turn on each.
After all the screws have been installed,
go back and tighten them fully.
4. For left panel (AB), there are six
screws (BB) to connect to the left rear panel (I)
and main bottom panel (S), three in the rear
and three inside the cabinet. Insert the screws
into the aligned holes and tighten them. The
three screws inside the cabinet should be
engaged first. (Fig. 4)
Hardware Used
1/4-20 x 5/8 in.
Screw
X 4
BB
Hardware Used
1/4-20 x 5/8 in.
Screw
X 6
BB
3
I
S
BB
4
AB
I
BB
S

Other manuals for Master Forge 3218LTN

Related product manuals