EasyManua.ls Logo

Master Forge 3218LTN - Page 14

Master Forge 3218LTN
20 pages
Print Icon
To Next Page IconTo Next Page
To Next Page IconTo Next Page
To Previous Page IconTo Previous Page
To Previous Page IconTo Previous Page
Loading...
ASSEMBLY INSTRUCTIONS
14
Lowes.com/masterfor
g
e
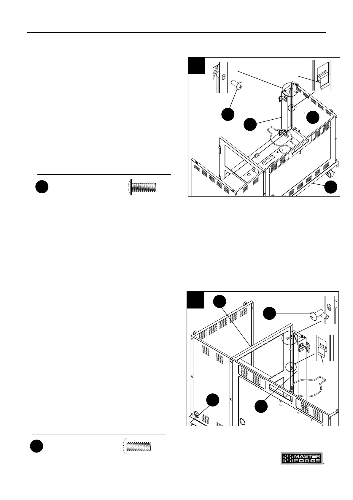
11. For left skirt (Z), there are four screws (BB)
to connect to the left panel (AB) and main bottom
panel (S), two in the left panel and two inside
the cabinet. Make sure the tab A is locked in place.
Insert the screws into the aligned holes and tighten
them. The two screws inside the cabinet should be
engaged first. (Fig. 11)
12. Insert the “Tab A” in right skirt (V) into
the square hole in the Center Panel (K) and
push down. Make sure the tab is locked in
place. For this skirt, there are four screws
(BB) to connect to the center panel (K) and
main bottom panel (S), two in the middle
panel and two inside the cabinet. Insert the
screws into the aligned holes and tighten them.
The two screws inside the cabinet should be
engaged first. (Fig. 12)
Hardware Used
1/4-20 x 5/8 in.
Screw
X 4
BB
Tab A
12
BB
V
K
S
11
BB
Z
AB
S
Tab A
Hardware Used
1/4-20 x 5/8 in.
Screw
X 4
BB

Other manuals for Master Forge 3218LTN

Related product manuals