EasyManua.ls Logo

Master MFG Revolt - BREAKDOWN - FRAME ASSEMBLY

Master MFG Revolt
24 pages
Print Icon
To Next Page IconTo Next Page
To Next Page IconTo Next Page
To Previous Page IconTo Previous Page
To Previous Page IconTo Previous Page
Loading...
22
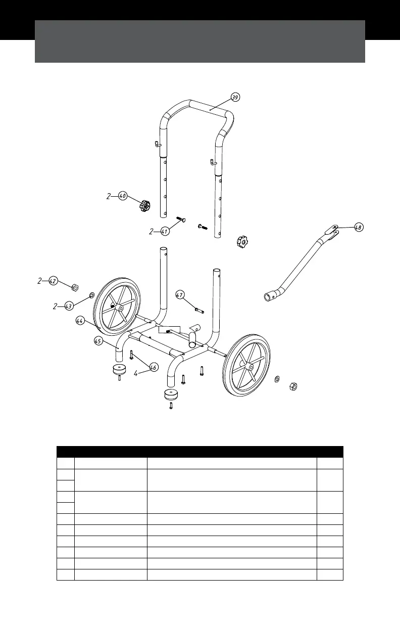
BREAKDOWN - FRAME ASSEMBLY
ID PART # DESCRIPTION QTY
39 33-100158 Frame Handle (Only Available As Entire Frame) 1
40
33-100157 Handle Adjustment Knobs & Bolts 2
41
42
33-100155 Axel Nut & Washer 2
43
44 TWA12x1.75-1/2 12" Wheels 2
45 33-100158 Lower Frame (Only Available As Entire Frame) 1
46 33-100160 Bolts - 1.5" 4
47 33-100156 Hitch Pin 1
48 33-100158 Tongue Hitch (Only Available As Entire Frame) 1
49 Hose Hoops 2

Related product manuals