EasyManua.ls Logo

MasterForce 241-0725 - SPEED DIAL AND LOCK-ON FEATURE; DRILL BIT INSTALLATION

MasterForce 241-0725
22 pages
Print Icon
To Next Page IconTo Next Page
To Next Page IconTo Next Page
To Previous Page IconTo Previous Page
To Previous Page IconTo Previous Page
Loading...
13
have set the speed you desire, when the
switch is completely depressed and the “Lock-
On” button engaged, the tool speed will
change to the speed you dialed in. To Pre-set a
desired RPM, pull the switch back completely
and engage the “Lock-On” button. Maintain a
firm grasp on the running drill with one hand
and use your free hand to rotate the “speed
control” clockwise or counter-clockwise until
the desired drill speed is reached. Then pull
the switch back and release it to disengage the
“Lock-On” feature. Once you’ve dialed in the
desired drill speed, when you start the drill
and engage the switch “Lock-On” button the
drill will change to the speed you set with the
“speed control” dial.
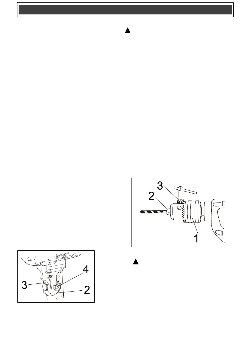
LOCK-ON SWITCH
The lock-on switch is available to hold the
ON/OFF switch in the ON position during
prolonged operation of the drill. To lock the
ON/OFF switch in the ON position:
1.Squeeze the switch trigger (3) (Fig. 5).
2.While squeezing the switch trigger, press
the lock-on button (4) into the drill handle
(2).
3.While holding the lock-on button into the
drill handle release the switch trigger. The
drill will continue to run.
4.To turn the drill OFF while the lock-on
button is holding the trigger switch ON,
squeeze and then release the trigger.
Fig. 5
INSTALLING DRILL BITS
WARNING: Never hold the chuck body
with one hand and use the drill power to
rotate the drill body to loosen or tighten bits.
Serious injury may result.
1. Remove the drill plug from the power
source.
2. Rotate the chuck collar (1) to open or close
the jaws (2) to a point where the opening is
slightly larger than the bit size you intend to
use (Fig. 6).
3.Insert the bit into the chuck the full length
of the jaws. Raise the front of your drill
slightly to prevent the bit from falling out of
the chuck jaws.
4 Insert the chuck key (3) into one of the
three holes in the chuck body. Rotate the
chuck key clockwise until the drill bit is held
firmly in place by the chuck jaws.
NOTE: Do not use a wrench on the chuck
key. You may damage the key or the
chuck.
Fig. 6
WARNING: Do not insert the drill bit into
the chuck and tighten as shown in Fig. 7.
The drill bit MUST be properly inserted with
all three chuck jaws holding the bit centered
in the chuck. Failure to properly insert the
drill bit could cause the drill bit to be thrown
from the chuck resulting in possible serious
injury or damage to the chuck
!
!
ASSEMBLY AND OPERATING

Related product manuals