EasyManua.ls Logo

Mastervolt Whisper 8

Mastervolt Whisper 8
32 pages
To Next Page IconTo Next Page
To Next Page IconTo Next Page
To Previous Page IconTo Previous Page
To Previous Page IconTo Previous Page
Loading...
INSTALLATION
US / WHISPER 6/8/11 / July 2009 / Copyright © 2009 Mastervolt 11
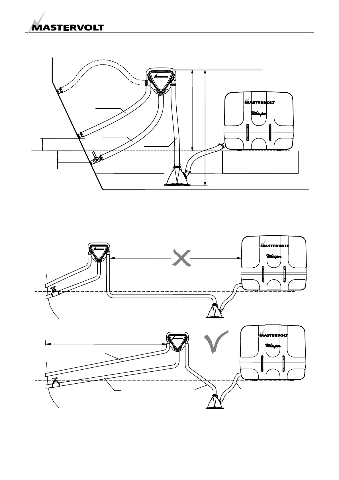
1 Water level 3 Seacock
Figure 11 2 Water/exhaust separator 4 Waterlock
MAX. 4" (10CM)
MIN. 24" (60CM)
MAX. 60" (150CM)
MIN. 1,2" (3CM)
1
2
3
4
Ø 1
5
/
8
Ø 1
5
/
8
Ø 1
5
/
8
Figure 12: Only after the exhaust / water separator the exhaust hose may have a length of over 24 feet (7.5 meter)
OK!
WRONG!
A
B
Ø 1
5
/
8
(40 mm)
Ø 1
5
/
8
(40 mm)
Ø 1
5
/
8
(40 mm)
Max. length A - B = 10 ft. (3 m)
Up to 10ft (3m): Ø 1
5
/
8
“ (40 mm)
10-30 ft (3-10 m): Ø 2” (51 mm)

Other manuals for Mastervolt Whisper 8

Related product manuals