EasyManua.ls Logo

Maxx SP5 S - Set Individual Sample Volume; Plastic Dosing Vessel Setup

Maxx SP5 S
60 pages
Print Icon
To Next Page IconTo Next Page
To Next Page IconTo Next Page
To Previous Page IconTo Previous Page
To Previous Page IconTo Previous Page
Loading...
Installation
- 24 -
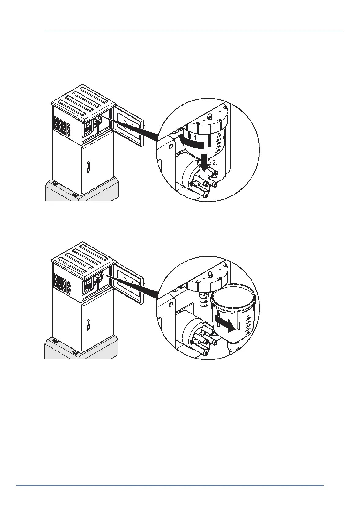
3.3.2 Set the individual sample volume
3.3.2.1 Plastic dosing vessel
Figure 27 Release the plastic dosing vessel
Figure 28 Remove the plastic dosing vessel

Table of Contents

Related product manuals