EasyManua.ls Logo

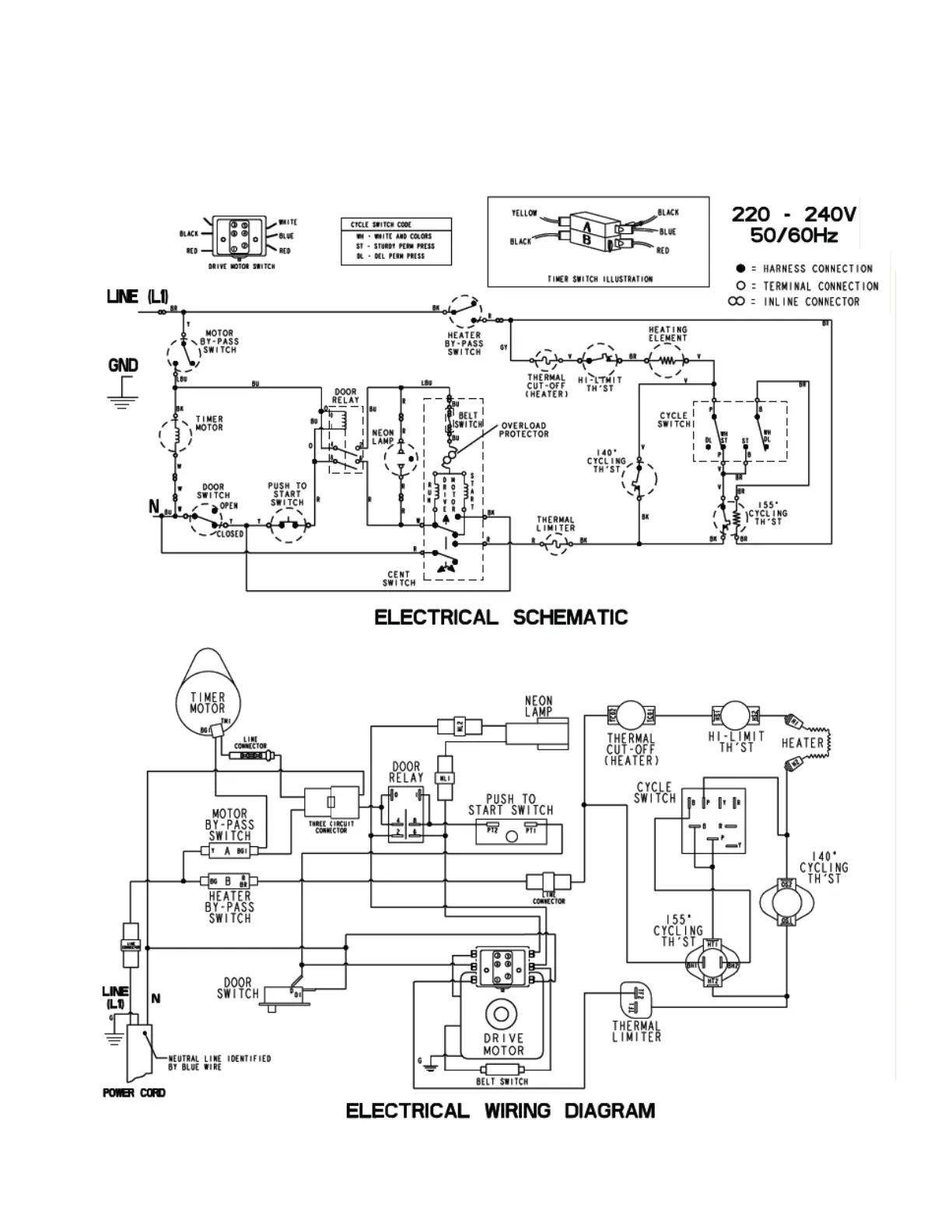
Maytag MDG17CS - Wiring Diagrams; CS Model - Electric

Maytag MDG17CS
150 pages
Print Icon
To Next Page IconTo Next Page
To Next Page IconTo Next Page
To Previous Page IconTo Previous Page
To Previous Page IconTo Previous Page
Loading...
7-1
WIRING DIAGRAMS
CS model - electric

Table of Contents

Other manuals for Maytag MDG17CS

Related product manuals