EasyManua.ls Logo

Maytag MLE24PD - Wiring Diagrams; CS Model - Electric Wiring Diagram

Maytag MLE24PD
150 pages
Print Icon
To Next Page IconTo Next Page
To Next Page IconTo Next Page
To Previous Page IconTo Previous Page
To Previous Page IconTo Previous Page
Loading...
7-1
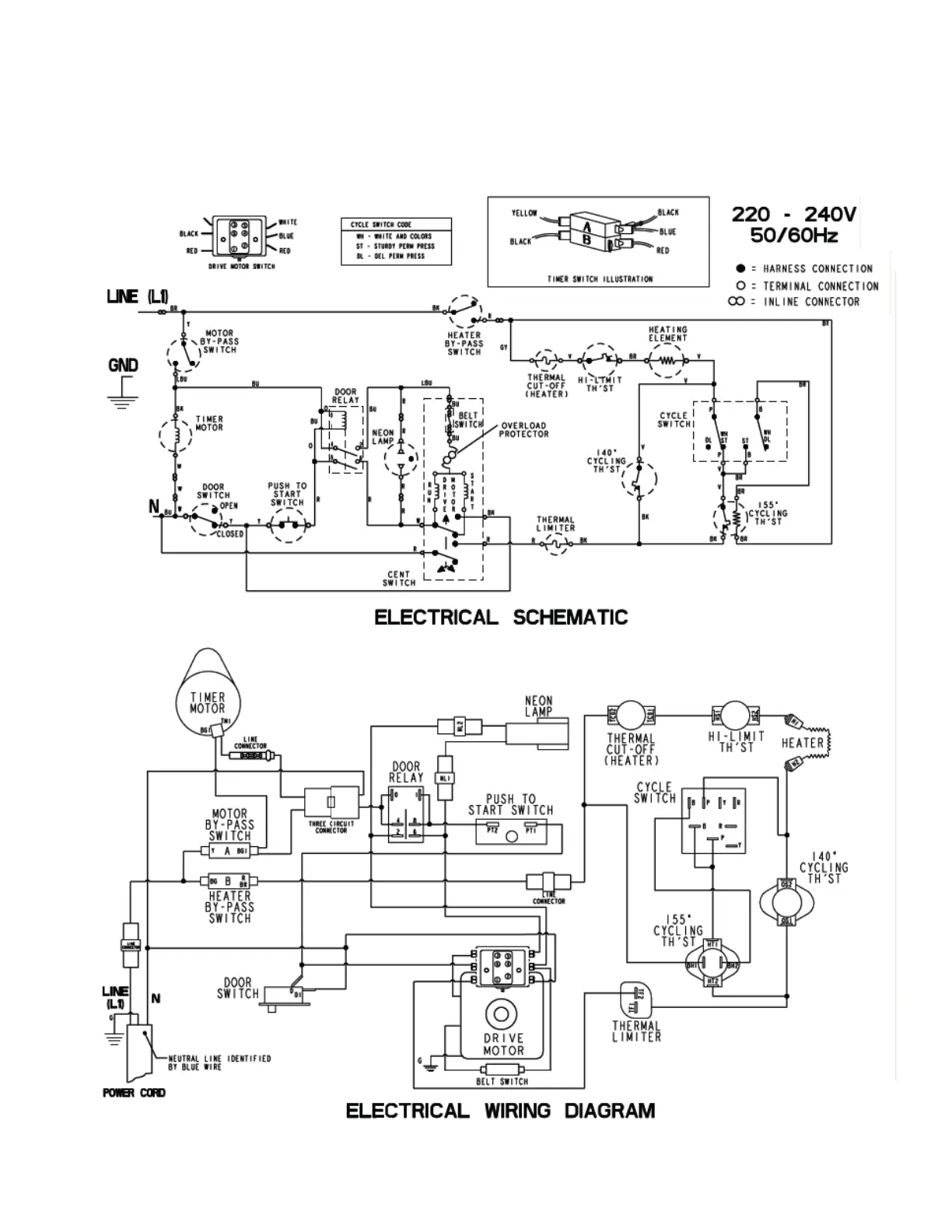
WIRING DIAGRAMS
CS model - electric

Table of Contents

Related product manuals