EasyManua.ls Logo

Mazda CX-8 - Engine Oil

Mazda CX-8
624 pages
Print Icon
To Next Page IconTo Next Page
To Next Page IconTo Next Page
To Previous Page IconTo Previous Page
To Previous Page IconTo Previous Page
Loading...
Engine Oil
NOTE
Changing the engine oil should be done by an expert repairer, we recommend an Authorised
Mazda Repairer.
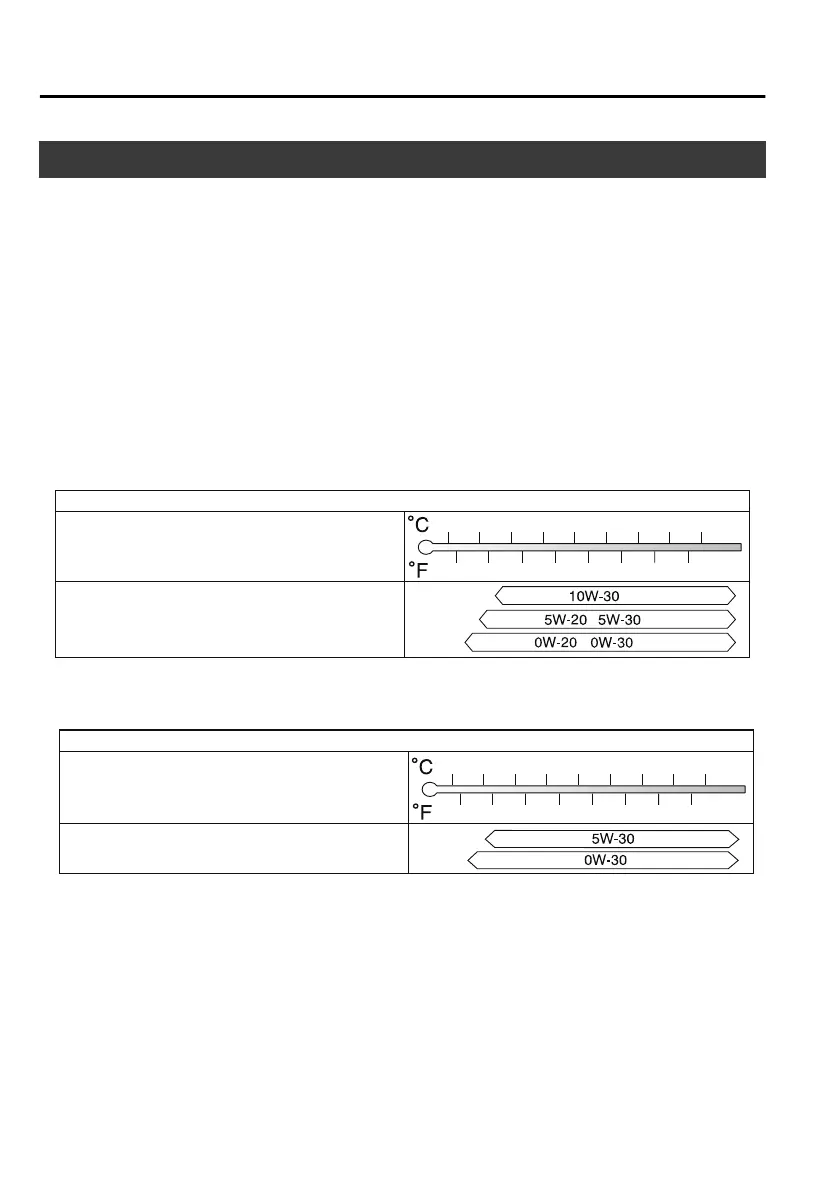
Recommended Oil
In order to keep the maintenance interval (page 6-3) and to protect the engine from damage
caused by poor lubrication, it is vitally important to make use of engine oil with the correct
specification. Do not use oils which do not meet the following specifications or
requirements. Use of unsuitable oil may lead to engine damage which is not covered by the
Mazda Warranty.
Grade
Temperature Range SAE Viscosity Numbers
API SL/SM/SN or ILSAC GF-III/GF-IV/GF-V
–30 –20 –10 0
10
20 30
40
–20
0
20
40
60
80
100
–40
–40
SKYACTIV-G 2.5
Grade
Temperature Range SAE Viscosity Numbers
ACEA C3
–30 –20 –10 0
10
20 30
40
–20
0
20
40
60
80
100
–40
–40
SKYACTIV-D 2.2
Engine oil viscosity, or thickness, has an effect on fuel economy and cold-weather operation
(starting and oil flow).
Low-viscosity engine oils can provide improved fuel economy and cold-weather
performance.
When choosing an oil, consider the temperature range your vehicle will operate in before
the next oil change.
Then select the recommended viscosity from the chart.
Maintenance and Care
Owner Maintenance
6-14
CX-8_8HJ9-EI-19E_Edition2_old 2020-4-15 13:00:04

Table of Contents

Other manuals for Mazda CX-8

Related product manuals