EasyManua.ls Logo

Mazda CX-9 2016 - Light Bulbs

Mazda CX-9 2016
612 pages
Print Icon
To Next Page IconTo Next Page
To Next Page IconTo Next Page
To Previous Page IconTo Previous Page
To Previous Page IconTo Previous Page
Loading...
6
47
Maintenance and Care
Owner Maintenance
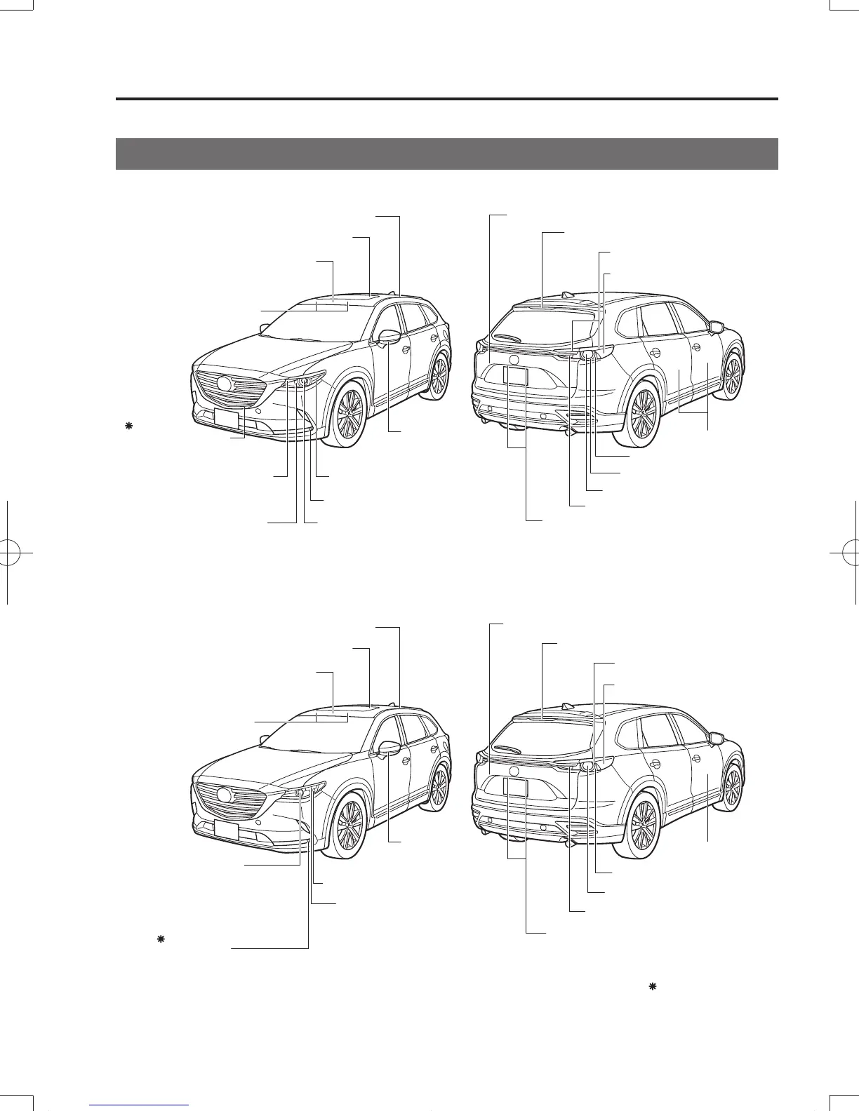
Light Bulbs
Type A (With Adaptive Front Lighting System (AFS))
Type B (Without Adaptive Front Lighting System (AFS))
Rear side-marker lights
Rear turn signal lights
Brake lights
License plate lights
Headlights (Low/High beam)
High-mount brake light
Overhead lights (Front)/
Map lights (Front)
Luggage compartment light
Vanity mirror lights
Daytime running lights/
Parking lights
Taillights
Courtesy lights
Reverse lights
Fog lights
Front turn signal lights
Fog lights
Map lights (Center)
Overhead light (Rear)
Rear side-marker lights
Rear turn signal lights
Brake lights
License plate lights
Headlights
(Low/High beam)/
Daytime running
lights
High-mount brake light
Overhead lights (Front)/
Map lights (Front)
Luggage compartment light
Vanity mirror lights
Courtesy lights
Reverse lights
Front turn signal lights
Map lights (Center)
Overhead light (Rear)
Parking lights/Front
side-marker lights
Front side-marker lights
Some models.
Side turn
signal lights
Side turn
signal lights
Signature wing
illumination
Brake lights/Taillights
Brake lights/Taillights
CX-98FD6-EA-16BEdition3.indb47CX-98FD6-EA-16BEdition3.indb47 2016/03/1811:24:152016/03/1811:24:15

Table of Contents

Related product manuals