EasyManua.ls Logo

Mazda L8 - Cylinder Head (II) Disassembly

Mazda L8
70 pages
Print Icon
To Next Page IconTo Next Page
To Next Page IconTo Next Page
To Previous Page IconTo Previous Page
To Previous Page IconTo Previous Page
Loading...
ENGINE
B7
B
Tappet Disassembly Note
Note
The tappets are numbered to make sure they are assembled in their original positions. When removed,
keep the tappets with the cylinder head they were removed from. Do not mix the tappets.
Cylinder Head Bolt Disassembly Note
1. Loosen the cylinder head bolts in two or three
steps in the order shown.
End Of Sie
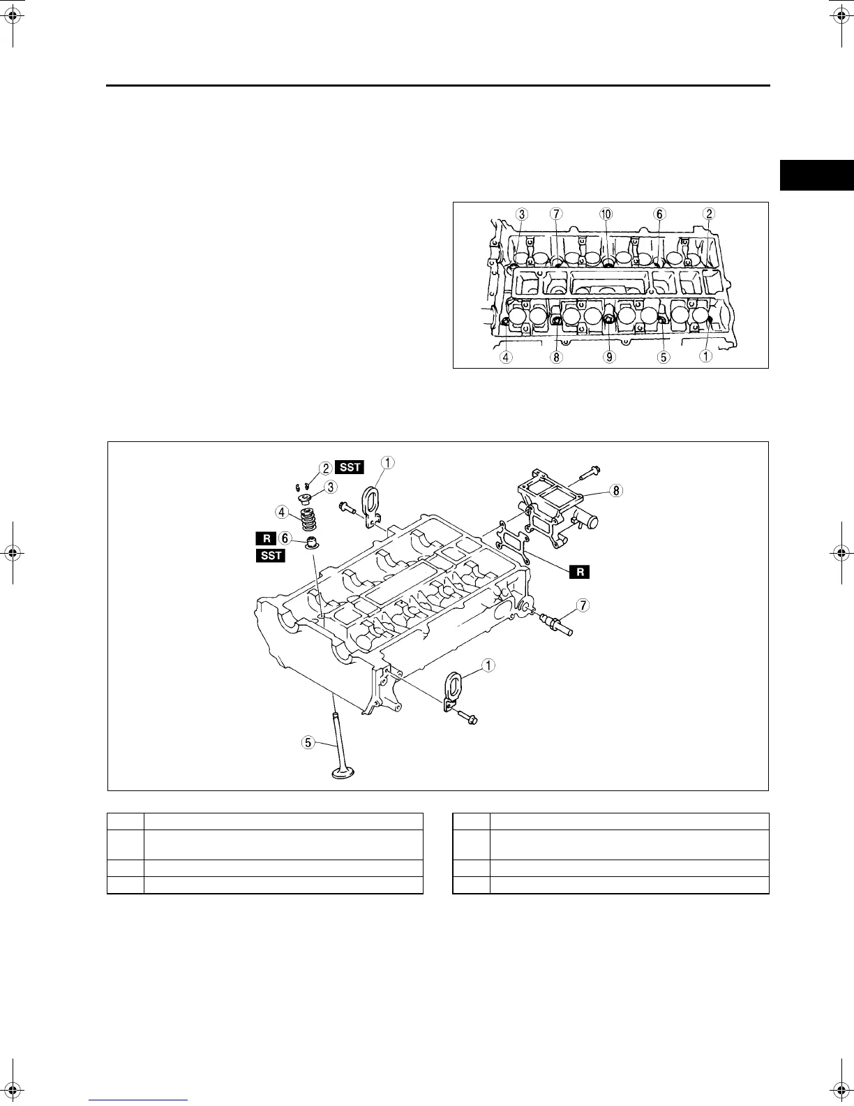
CYLINDER HEAD (II) DISASSEMBLY
A6E242402000E06
1. Disassemble in the order indicated in the table.
2.
.
AME2224E005
AME2224E008
1 Engine hanger
2 Valve keeper
(See B8 Valve Keeper Disassembly Note)
3 Upper valve spring seat
4 Valve spring
5Valve
6 Valve seal
(See B8 Valve Seal Disassembly Note)
7 EGR pipe
8 Water outlet case
1731‑1E‑02C.book7ペー200

Related product manuals