EasyManua.ls Logo

McDonald's C842 - Page 9

McDonald's C842
72 pages
Print Icon
To Next Page IconTo Next Page
To Next Page IconTo Next Page
To Previous Page IconTo Previous Page
To Previous Page IconTo Previous Page
Loading...
7
110218
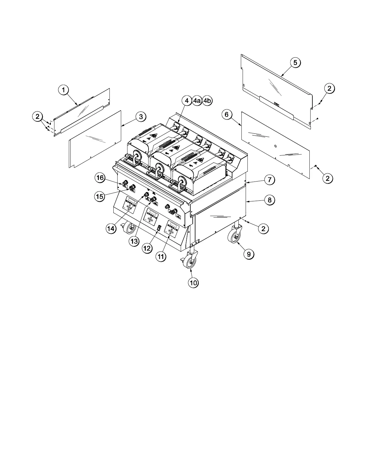
C844 Exploded View
Figure 2