EasyManua.ls Logo

McQuay MWM-G2W - Sound Data; Sound Pressure Level

McQuay MWM-G2W
206 pages
Print Icon
To Next Page IconTo Next Page
To Next Page IconTo Next Page
To Previous Page IconTo Previous Page
To Previous Page IconTo Previous Page
Loading...
24
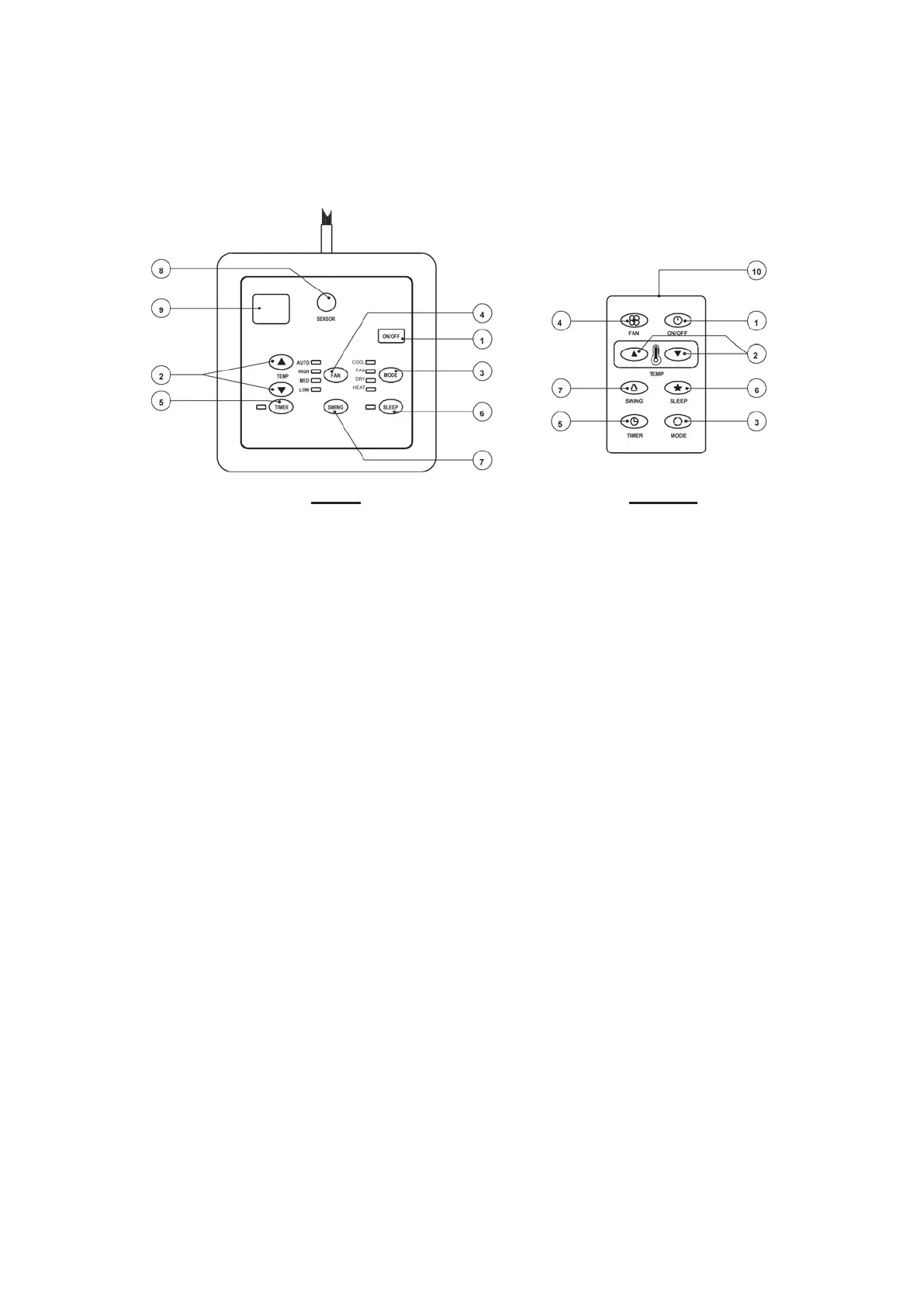
SLM3 WIRED CONTROLLER
1. "ON/OFF" switch
Press to start the air conditioner unit.
Press again to stop the unit.
2. Temperature setting
Set the desired room temperature.
Press button to increase or decrease the set tem-
perature. Setting range are between 16°C to 30°C
(60°F to 80°F).
3. Operation Modes
Press the "mode" button for select the type of oper-
ating mode.
- Cooling Only :
COOL, FAN, DRY
- Heat Pump :
COOL, FAN, DRY, HEAT
4. Fan Speed selection
Press the button until the desired fan speed is
achieved.
5. Timer
Press the set button to select the switch timer of the
air conditioner unit (the setting range is between 1
to 15 hours).
SLM3 AC5300
6. "Sleep" mode
Press button to activate the sleep function. This
function can only be activated under "cool" or
heating mode operation. When it is activated
under "cool" mode operation, the set tempera-
ture will increase 0.5°C after 30 minutes, 1°C
after 1 hour and 2°C after 2 hours. If it is acti-
vated under "HEAT" mode operation, the set
temperature will be decreased 0.5° C after 30
minutes, 1° C after 1 hour and 2° C after 2 hours.
7. Air Swing
Press button to activate the automatic air swing
function.
8. Sensor
Infra red sensor to receive signals from wireless
controller.
9. LED display
To display the set temperature (in º C) and timer
delay setting (in hours).
10. Transmission source
To transmit signals to the air conditioner.

Other manuals for McQuay MWM-G2W

Related product manuals