EasyManua.ls Logo

McQuay PEH087 - Control Center Overview

McQuay PEH087
24 pages
Print Icon
To Next Page IconTo Next Page
To Next Page IconTo Next Page
To Previous Page IconTo Previous Page
To Previous Page IconTo Previous Page
Loading...
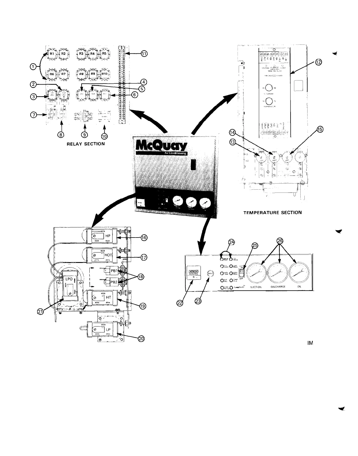
FIGURE 4. CONTROL CENTER
FRONT PANEL
II
II
u
NOTE: For other control panel configurations see
IM
338.
SWITCH SECTION
(BEHIND PANEL)
Legend
19
High Discharge Temperature Switch
20.
Low Pressure Switch
21.
Low Pressure Override Switch
22.
Hour Meter
23
Reset Button
24.
Indicator Lights
25.
Unit ON/OFF Switch (with light)
26.
Gauges
1. Operating Relays
R1-R10
2. Surgegard Relay
3. Guardistor Relay
4. Oil Pump Time Delay Switch
5. Anti-Recycle Time Delay Relay
6.
Prelube
Timer
7. Oil Pump Safety Timer
8.
System Monitor Timer
9. Oil Pump Contactor
10.
Control Transformer
11.
Terminal Strip
12.
Control Module
13.
Low Oil Temperature
Thermostat
14.
High Suction Temperature
Switc
h
15.
Load Recycle Thermostat
16.
High Pressure Switch
17
High
Oil Temperature
Switch
16.
Push Button Switches
Page 8/
IM
307

Related product manuals