EasyManua.ls Logo

MCZ HYDRO - Procedure for Recipe Selection; Control of Water Temperature in Boiler

MCZ HYDRO
76 pages
Print Icon
To Next Page IconTo Next Page
To Next Page IconTo Next Page
To Previous Page IconTo Previous Page
To Previous Page IconTo Previous Page
Loading...
PELLET STOVES Chapter 4
INSTALLATION AND USE MANUAL
page 46
Operation Technical service - Rights reserved MCZ GROUP S.p.A. - Reproduction prohibited
Esc Set
< Setting >
21.0°C 21.04
OFF
Mode:AUTO Menu
Temp:22°C Fan:A
Esc Set
< Setting >
Esc Set
< Language >
Esc ON OK
< Language >
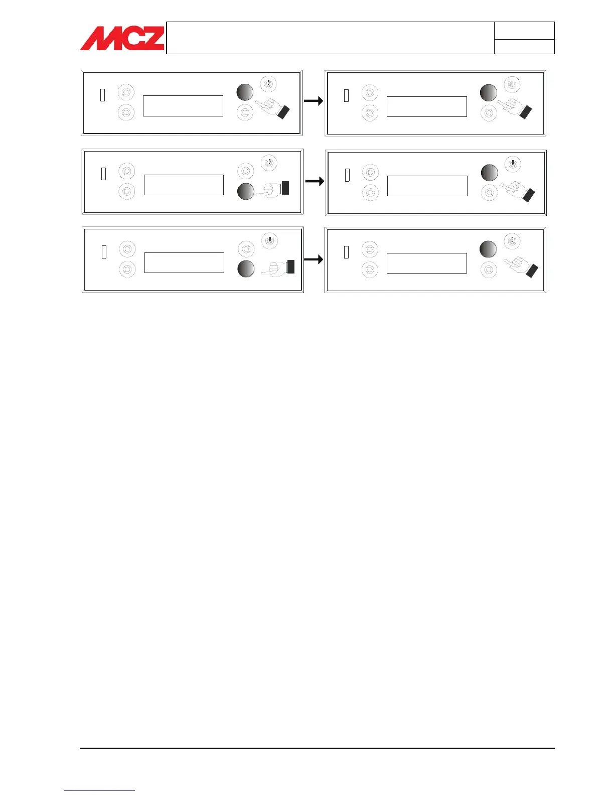
4.6.3. Procedure for recipe selection
The message "Recipe" will appear on the control panel menu, under
the settings menu. This function is used to increase or decrease pellet
loading in the hopper and is represented as follows:
To increase: +1 +2 +3 which corresponds to 5-10-15% more
in comparison to the standard recipe set by the company.
To decrease: -1 -2 -3 which corresponds to 10-20-30% less in
comparison to the standard recipe set by the company
4.7. CONTROL OF WATER TEMPERATURE IN
BOILER
The stove is already set with a series of standard parameters that allow
it to operate properly (water temperature 65°C and room temperature
22°C). The water temperature is shown on the control panel display,
which alternates with the room temperature.
If the user wants to change the parameters related to the temperature,
it can be done as follows:
The following parameters can be set:
T Ambient From the first screen with the message OFF, press any key
and the screen with the message MENU will appear.
Using the bottom left button it is possible to adjust the
temperature desired in the room.
T H
2
O = Maximum temperature of water in boiler. Upon reaching
this temperature, the stove will reduce its performance to
prevent overheating. The default temperature is 65°C
and it cannot be set below 50°C or over 80°C.

Table of Contents

Related product manuals