EasyManua.ls Logo

Megger BM121 - Operating and Storage Environment; Instrument Features and Maintenance; Automatic Discharge and Warnings; Power Supply and Battery

Megger BM121
Print Icon
To Next Page IconTo Next Page
To Next Page IconTo Next Page
To Previous Page IconTo Previous Page
To Previous Page IconTo Previous Page
Loading...
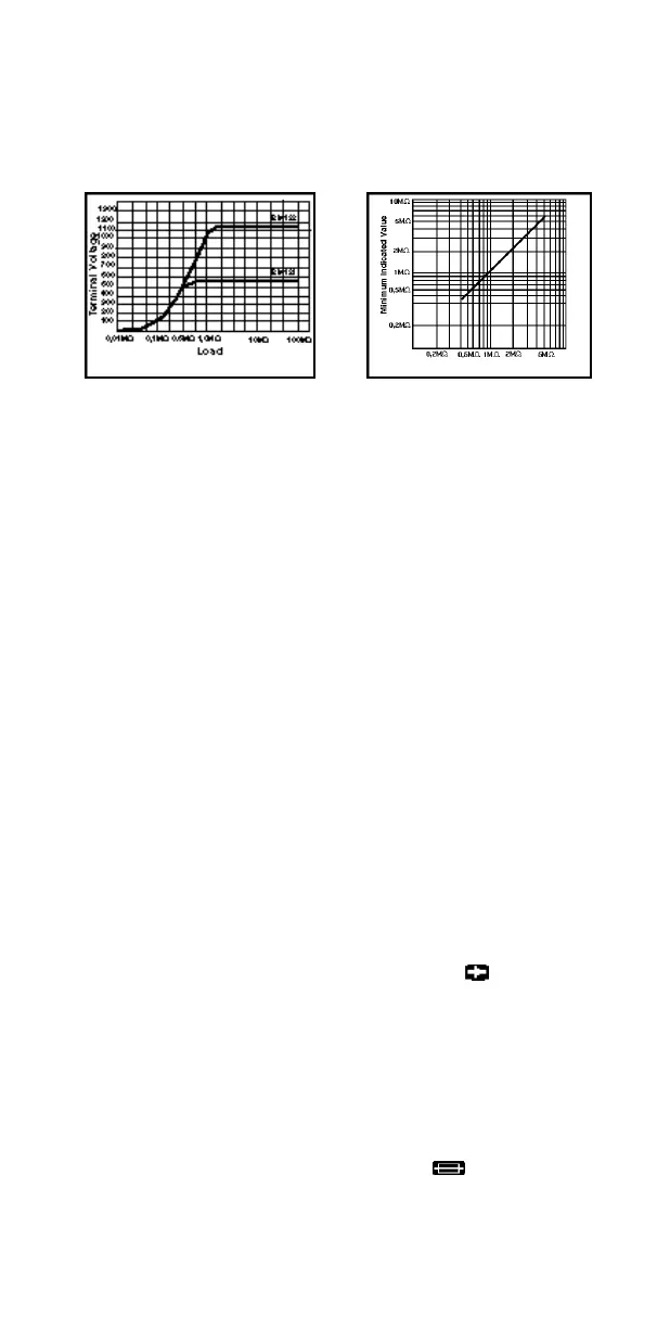
Accuracy (at 20°C): 0,01 - 9,99 ± 3% ±2 digits(ISC =210mA)
10 - 99,9 ± 5% ± 2 digits (I
SC
=21mA)
Temperature Coefficient: <0,1% per °C
Temperature Range:
Operating: -0°C to +40°C (full measurement range)
-20°C to +60°C (to 100 M maximum)
Storage: -25°C to +65°C
Humidity: 90% RH at 40°C max
Display: 3 digit L.C.D. Maximum reading 999
Auto Shut off: Auto shut off operates after 5 minutes of
inactivity by the instrument.
Default Voltage Wa r n i n g :
The circuit under test must be switched off, de-energised and isolated before
making any tests. If an external voltage >25V (ac or dc) is detected, normal
testing is inhibited and the display flashes a ‘V’ warning. Caution: This
warning does not function if the instrument is ‘Off’ or if the battery is
exhausted.
Automatic Discharge:
Capacitive circuits will be automatically discharged when the test button is
released following an insulation test (Internal 360 k resistance).
Power Supply: 6 x 1,5V cells IECLR6 (AA) type only.
Battery life: Typically 2000, 5 second operations (worst case).
N o t e : Battery cells should not be left in an instrument which
may remain unused for extended periods of time.
Low Battery: The low battery indicator symbol will appear
when the battery cells are exhausted.
Battery Replacement: The rear cover must not be opened if the test leads
are connected. To remove the rear cover, release the screw at the bottom of
the cover and lift the cover upwards. To avoid the possibility of shock, do not
press the test button or touch the fuse when changing battery cells.
Fuse: 500 mA(F) H.B.C.10 kAmin (32mm x 6mm).
To check this fuse, open circuit the test leads and press the test button until
a reading is obtained. Display of the fuse symbol , or an error code
indicates a ruptured fuse. Located under the rear cover, this fuse can be
replaced by the user. The rear cover must not be opened if the test leads
are connected. The replacement fuse must be of the correct type and rating.
To avoid the possibility of shock, disconnect the battery before touching the
fuse.
Terminal Characteristics
Limiting Value Curve

Related product manuals