EasyManua.ls Logo

Megger TTR25 - Figure 4-8 Setup for Testing Unmounted Current Transformer; Figure 4-9 Setup for Testing Taps on Multiple Tap CT

Megger TTR25
78 pages
Print Icon
To Next Page IconTo Next Page
To Next Page IconTo Next Page
To Previous Page IconTo Previous Page
To Previous Page IconTo Previous Page
Loading...
M
AVTMTTR25 Rev C April 2008
18
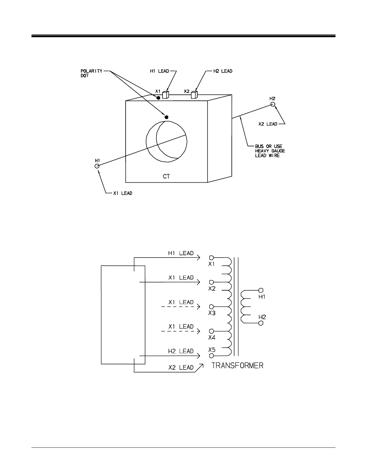
Figure 4-8 Setup for Testing Unmounted Current Transformer
Figure 4-9 Setup for Testing Taps on Multiple Tap CT
TTR 25

Table of Contents