EasyManua.ls Logo

Micro Matic MMPP4303-PKG - Power Pack Wiring Diagrams Overview

Micro Matic MMPP4303-PKG
24 pages
Print Icon
To Next Page IconTo Next Page
To Next Page IconTo Next Page
To Previous Page IconTo Previous Page
To Previous Page IconTo Previous Page
Loading...
MICROMATIC.COM | 866-327-4159 POWER PACK SERVICE MANUAL | 15
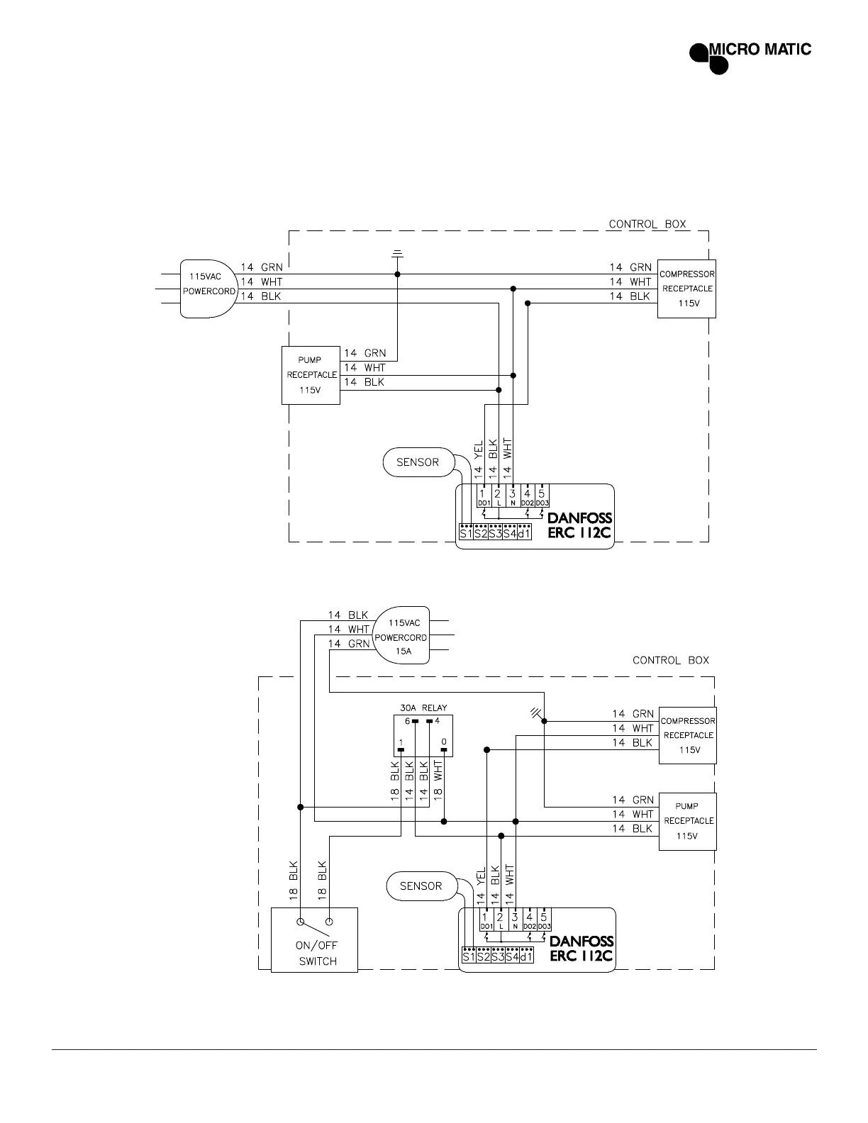
WIRING DIAGRAMS
MMPP4301-EP
MMPP4301

Related product manuals