EasyManua.ls Logo

Midea Corona MSC-07CRN1 - 4. Refrigeration Cycle Diagram

Midea Corona MSC-07CRN1
37 pages
Print Icon
To Next Page IconTo Next Page
To Next Page IconTo Next Page
To Previous Page IconTo Previous Page
To Previous Page IconTo Previous Page
Loading...
9
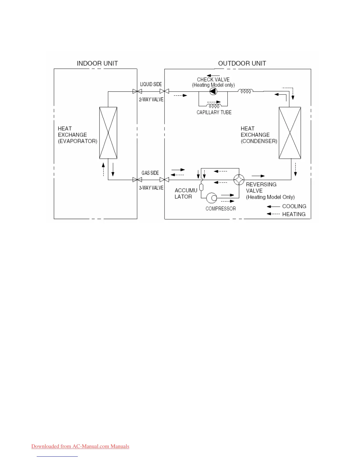
4.Refrigeration cycle diagram
Downloaded from AC-Manual.com Manuals

Related product manuals