EasyManua.ls Logo

Midea MC-SU60-RN1L

Midea MC-SU60-RN1L
84 pages
To Next Page IconTo Next Page
To Next Page IconTo Next Page
To Previous Page IconTo Previous Page
To Previous Page IconTo Previous Page
Loading...
MCAC-ATSM-201704 Aqua Tempo Super II Series DC Inverter Air-cooled chiller unit (50Hz)
72
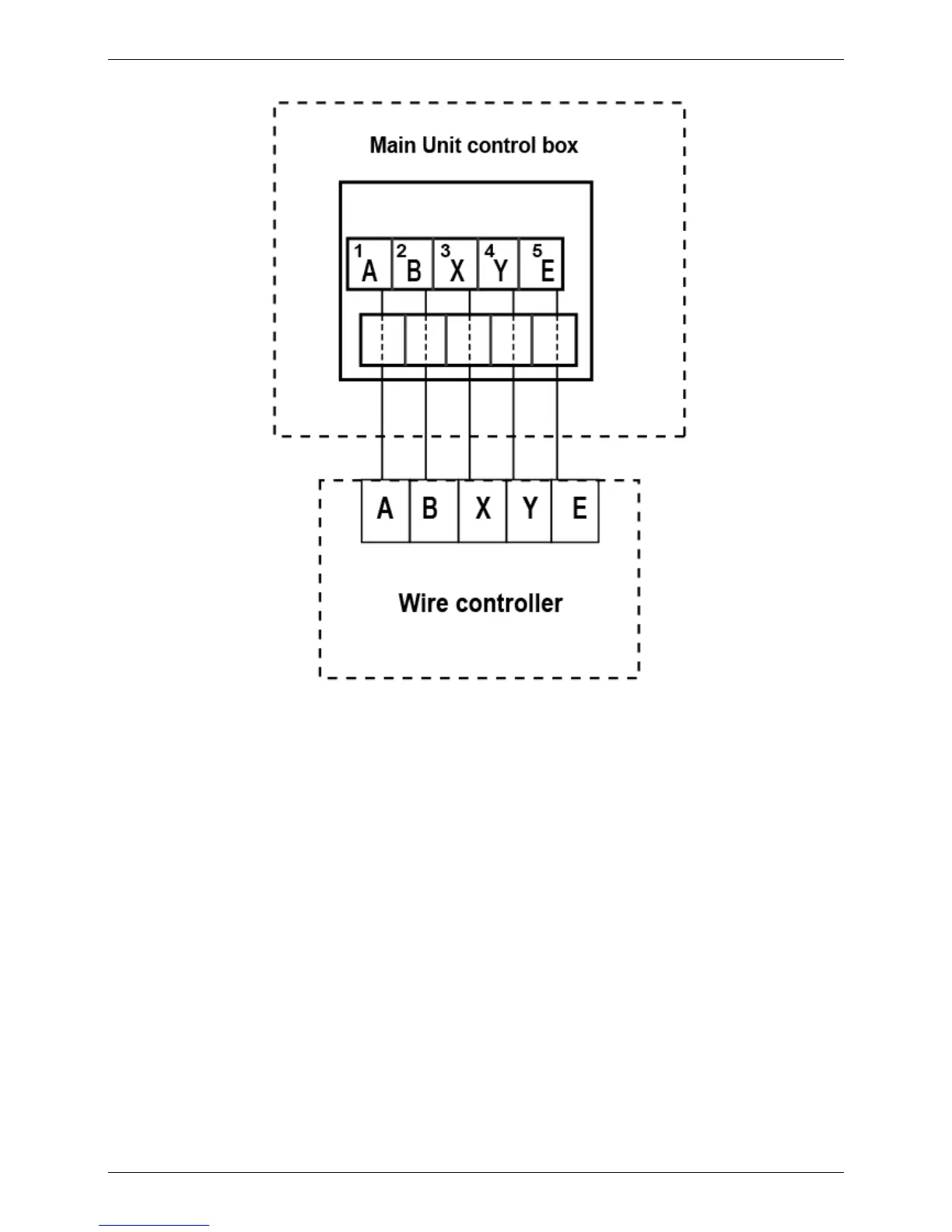
19.5.3 Wiring
19.5.4 Back cover installation
1) Use straight head screwdriver to insert into the buckling position in the bottom of wire controller, and
spin the screwdriver to take down the back cover. (Pay attention to spinning direction, otherwise will damage
the back cover!)
2) Use three GB950-86 M4X20 screws to directly install the back cover on the wall.
3) Use two M4X25 GB823-88screws to install the back cover on the 86 electrician box,and use one
GB950-86 M4X20 screws for fixing on the wall.
4) Adjust the length of two plastic screw bars in the accessory to be standard length from the electrical
box screw bar to the wall. Make sure when install the screw bar to the wall, make it as flat as the wall.
5) Use cross head screws to fix the wire controller bottom cover in the wall through the screw bar. Make
sure the wire controller bottom cover is on the same level after installation, and then install the wire controller
back to the bottom cover.
6) Over fasten the screw will lead to deformation of back cover.

Other manuals for Midea MC-SU60-RN1L

Related product manuals