EasyManua.ls Logo

Midea MFA-96CRN1 - Page 122

Midea MFA-96CRN1
162 pages
To Next Page IconTo Next Page
To Next Page IconTo Next Page
To Previous Page IconTo Previous Page
To Previous Page IconTo Previous Page
Loading...
R410A 50Hz Tropical Split AC MCAC-UTSM-2012-12
122
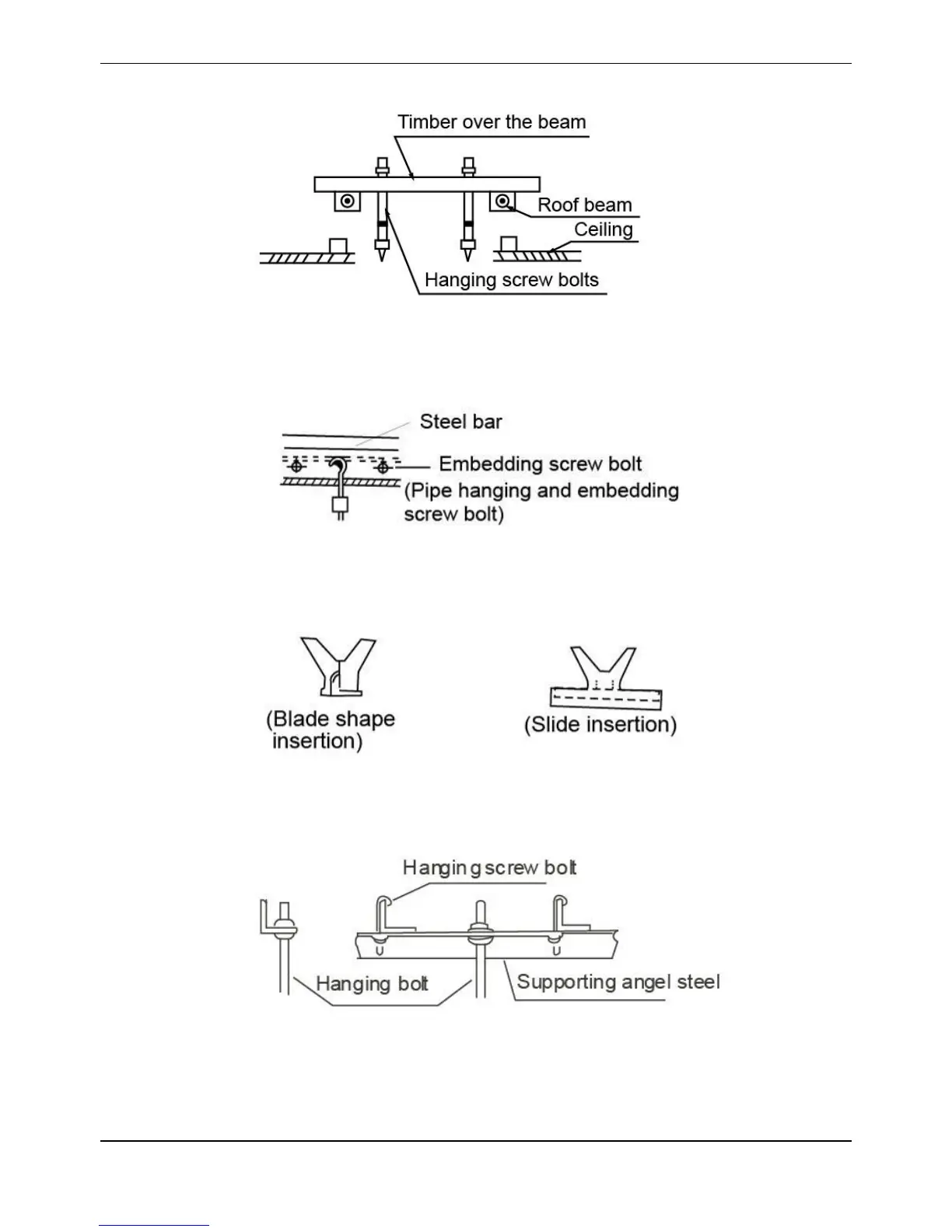
A. Wooden structure
Put rectangular sticks across the beams, and set pendant bolts. (Fig-4)
Fig-4
B. New concrete roughcast
Use embedded bolts, embedded pulling plugs, and embedded stick harness. (Fig-5)
Fig-5
C. New concrete roughcast
Set it with embedded bushes or embedded bolts. (Fig-6)
Fig-6
D. Steel beam and girder structure
Set and use supportive angle steel. (Fig-7)
Fig-7
2.1.3 Suspending the Indoor Unit
Use a hoisting device to hoist the indoor unit, align it with the installation screw, adjust the horizontality and
then tighten it. (Fig-8)

Related product manuals