EasyManua.ls Logo

Midea MV8M-120WV2RN1 - Installation Space Requirements

Midea MV8M-120WV2RN1
111 pages
Print Icon
To Next Page IconTo Next Page
To Next Page IconTo Next Page
To Previous Page IconTo Previous Page
To Previous Page IconTo Previous Page
Loading...
V8 Mini R410A VRF 50Hz
21
Part 2
-
Outdoor Unit Engineering Data
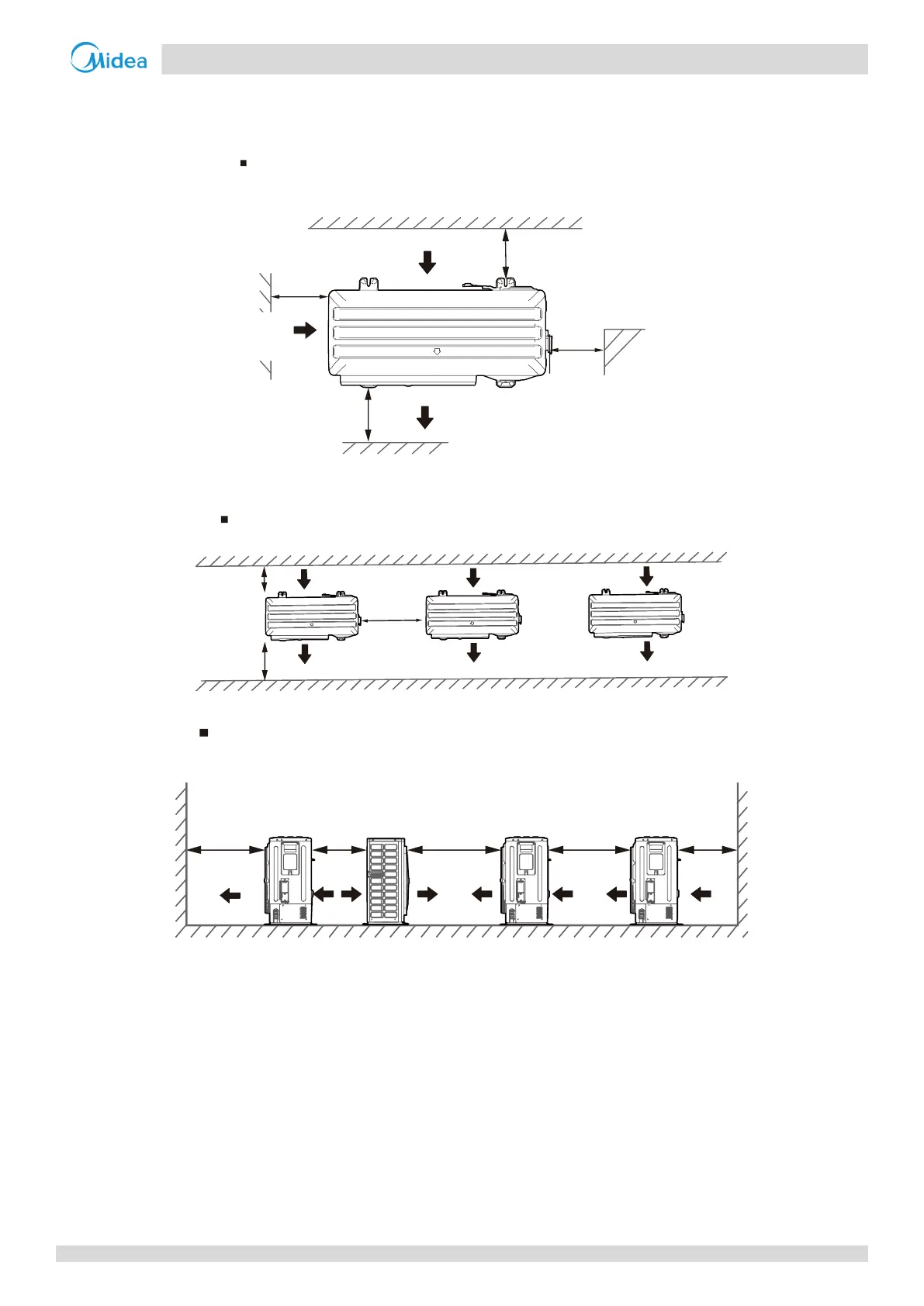
3 Installation Space Requirements
Figure 2-3.1: Single unit installation (unit: mm)
Figure 2-3.2: Multiple unit installation (unit: mm)
Single unit installation
> 300
> 2000
> 300
> 600
(Wall or obstacle)
Air outlet surface
Air inlet surface
Air inlet
surface
Maintenance
cable and
pipeline surface
Parallel connect the two units or above
> 600
> 2000
> 300
Parallel connect the front with rear sides
> 2000 > 500 > 3000 > 3000 > 300

Related product manuals