EasyManua.ls Logo

Miele CS 1018 G - Building-In Dimensions

Miele CS 1018 G
60 pages
Print Icon
To Next Page IconTo Next Page
To Next Page IconTo Next Page
To Previous Page IconTo Previous Page
To Previous Page IconTo Previous Page
Loading...
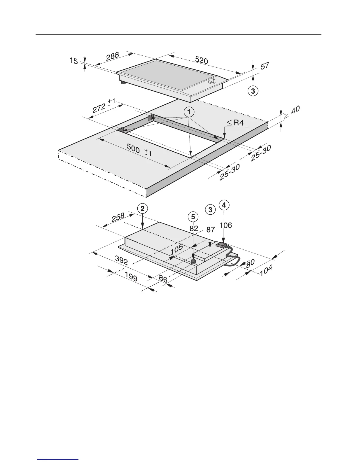
Building-in dimensions
40
a
Spring clamps
b
Front
c
Building-in depth
d
Building-in depth for the mains connection box with mains connection cable, L
= 2000 mm
e
Building-in depth for the gas connection R 1/2 - ISO 7-1

Related product manuals