EasyManua.ls Logo

Miele ESW 7010 - Side View and Connections

Miele ESW 7010
64 pages
Print Icon
To Next Page IconTo Next Page
To Next Page IconTo Next Page
To Previous Page IconTo Previous Page
To Previous Page IconTo Previous Page
Loading...
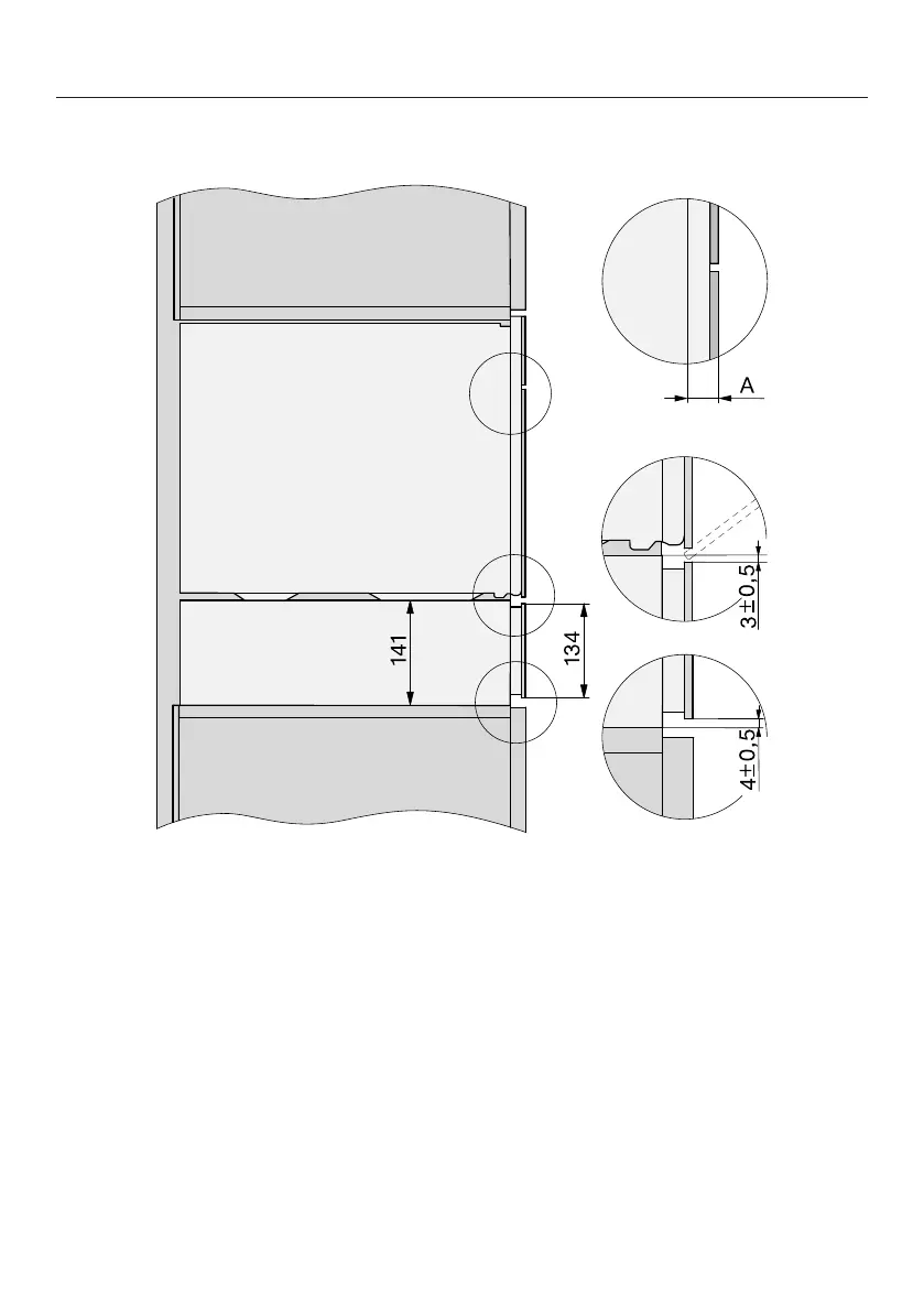
Installation dimensionsESW 7010, ESW 7110
46
Side view
A Glass front: 22mm
Metal front: 23.3mm

Related product manuals