EasyManua.ls Logo

Miele F1801VI - Niche Dimensions

Miele F1801VI
80 pages
Print Icon
To Next Page IconTo Next Page
To Next Page IconTo Next Page
To Previous Page IconTo Previous Page
To Previous Page IconTo Previous Page
Loading...
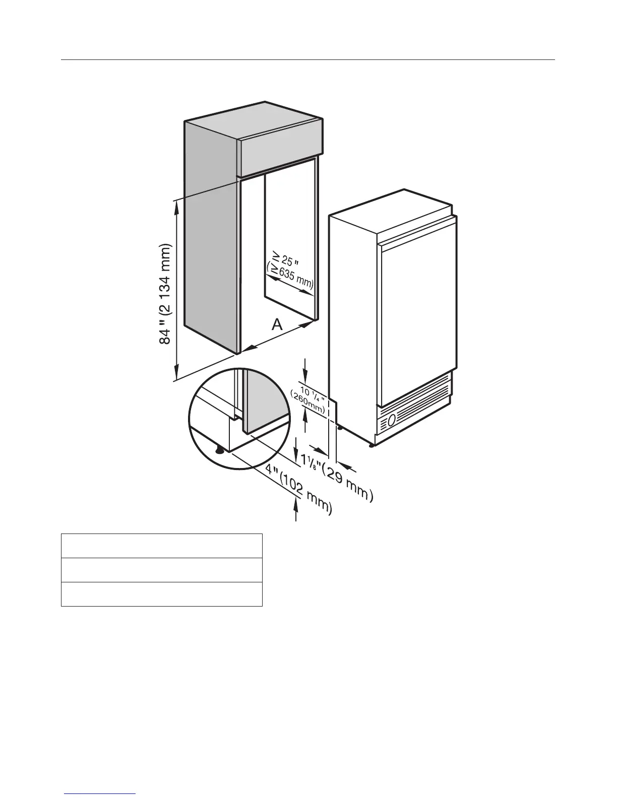
Niche dimensions
Niche width (A)
F 18X1 Vi 30" (762 mm)
F 19X1 Vi 36" (915 mm)
Dimensions
53

Table of Contents

Related product manuals