EasyManua.ls Logo

Miele K 9552 iD - Guide to the Appliance; Control Panel Overview

Miele K 9552 iD
52 pages
Print Icon
To Next Page IconTo Next Page
To Next Page IconTo Next Page
To Previous Page IconTo Previous Page
To Previous Page IconTo Previous Page
Loading...
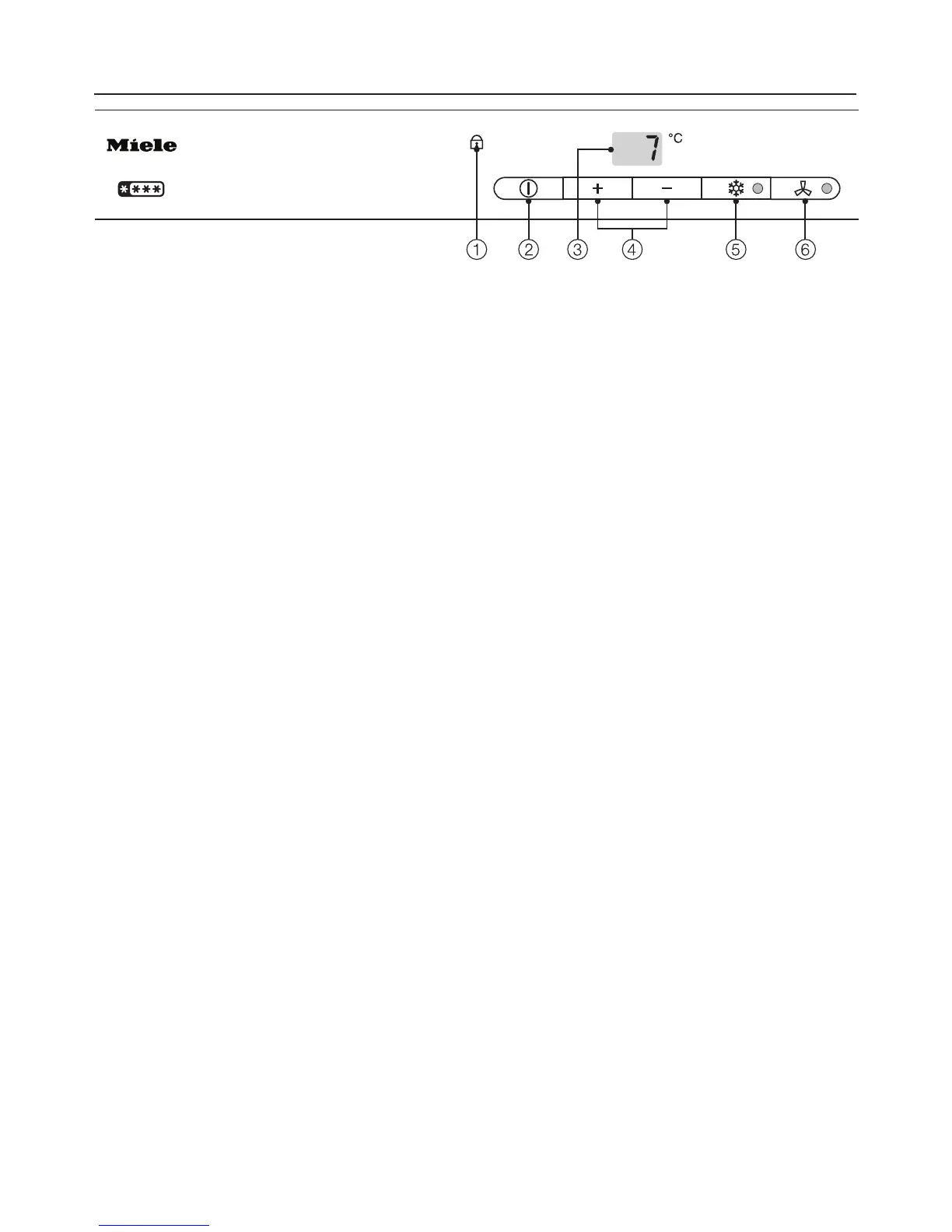
a Safety lock indicator light
b On/Off button
c Refrigerator temperature display
d Temperature selector buttons
(+ for warmer; for colder)
e SuperCool button and
indicator light
f DynamicCooling button and indicator
light
Guide to the appliance
4

Related product manuals