EasyManua.ls Logo

Miele KM 6340 - Building-in dimensions; KM 6314 Dimensions

Miele KM 6340
76 pages
Print Icon
To Next Page IconTo Next Page
To Next Page IconTo Next Page
To Previous Page IconTo Previous Page
To Previous Page IconTo Previous Page
Loading...
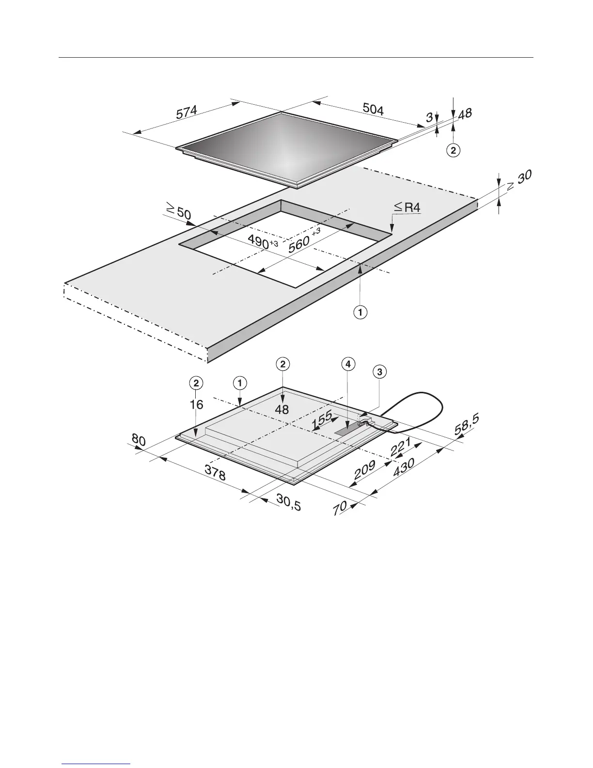
KM 6314
a Front
b Casing depth
c Miele|home connection box
d Mains connection box
The mains connection cable (1440 mm long) is supplied separately.
Building-in dimensions
64

Related product manuals