EasyManua.ls Logo

Miele ProLine CS 1013-1 - Building-In Dimensions

Miele ProLine CS 1013-1
52 pages
Print Icon
To Next Page IconTo Next Page
To Next Page IconTo Next Page
To Previous Page IconTo Previous Page
To Previous Page IconTo Previous Page
Loading...
Installation
*INSTALLATION*
38
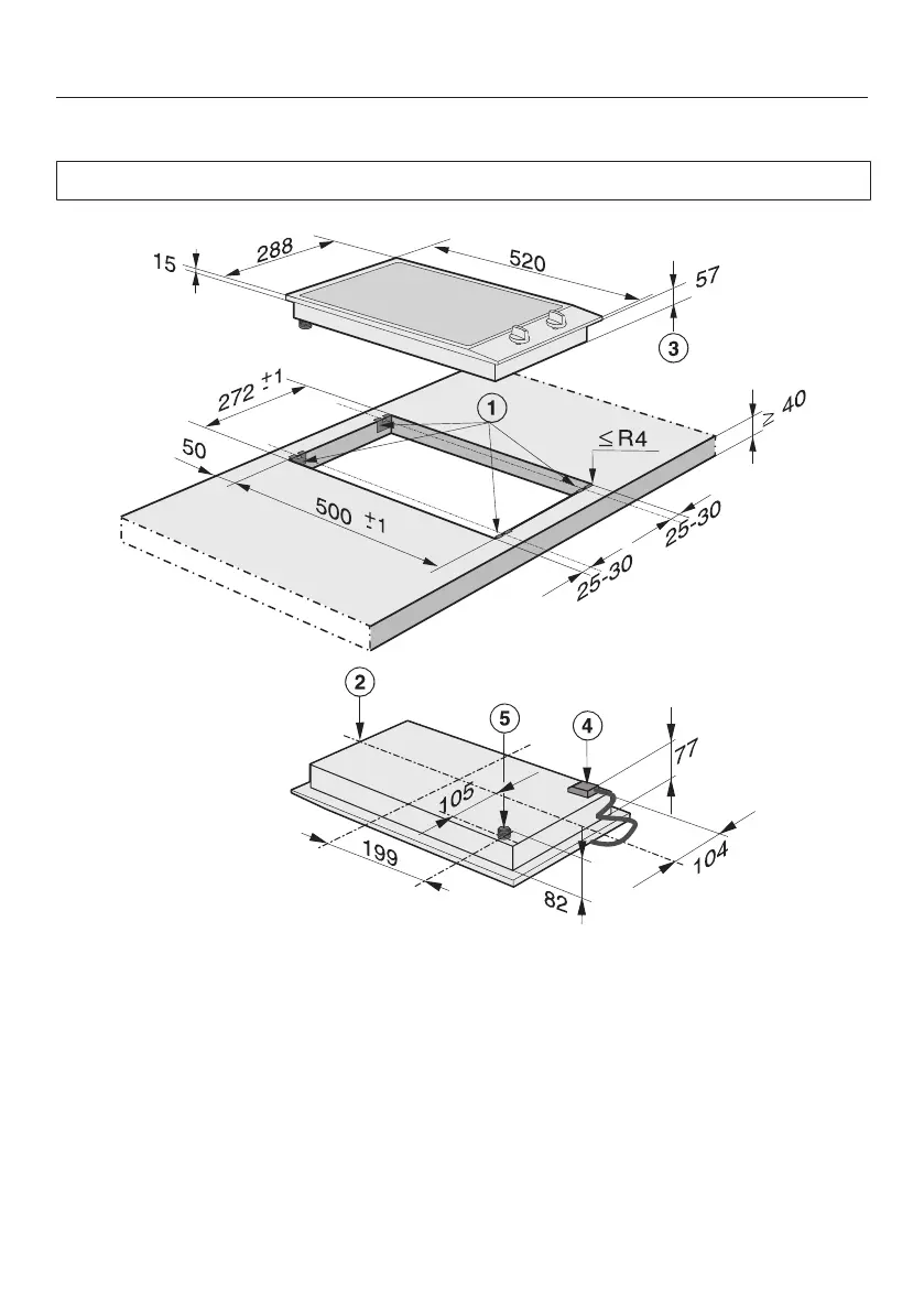
Building-in dimensions
All dimensions are given in mm.
a
Spring clamps
b
Front
c
Building-in depth
d
Mains connection box with mains connection cable,
L = 1440mm
e
Gas connection R 1/2

Related product manuals